EasyManua.ls Logo

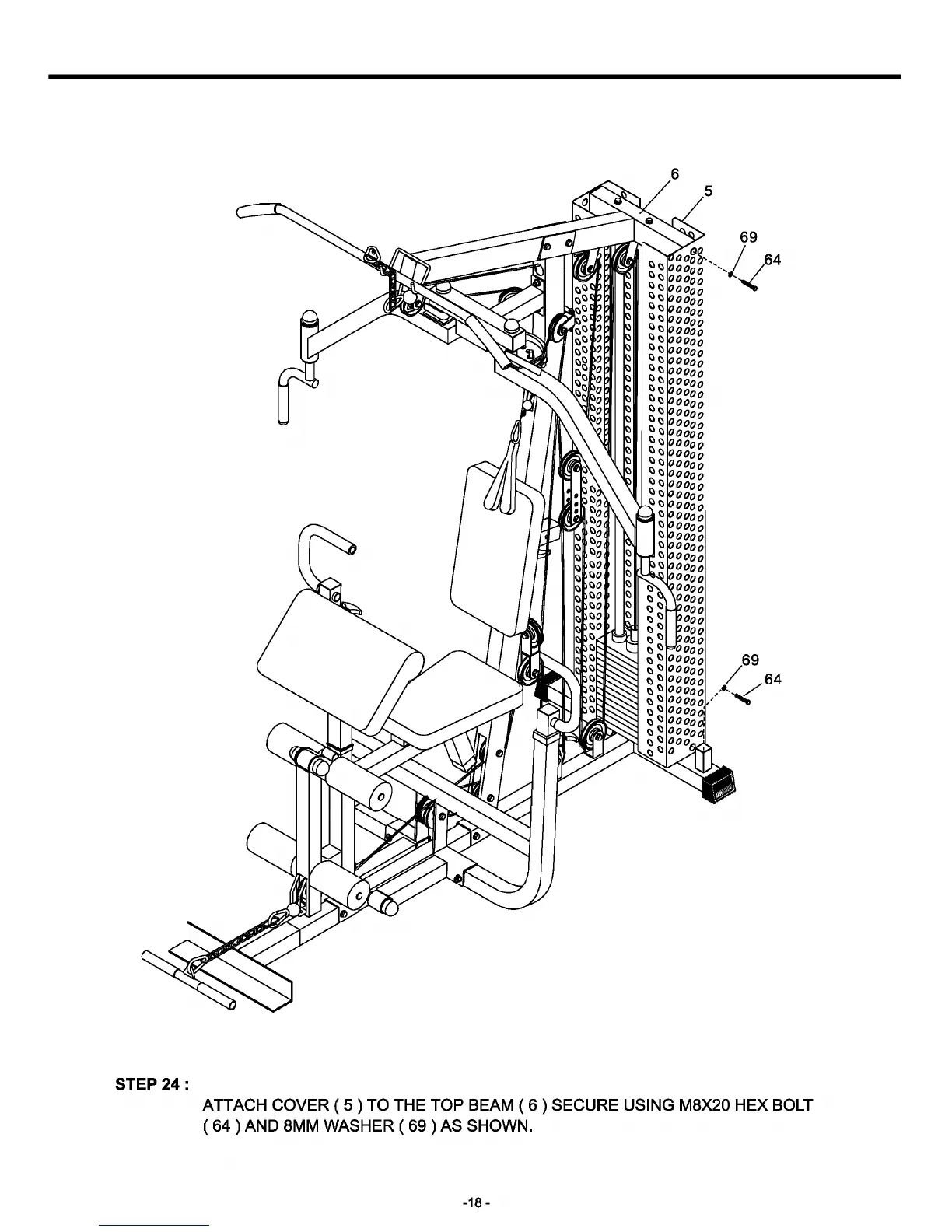
Proteus STUDIO-7 - Assembly Step 24: Cover Attachment

Proteus STUDIO-7
20 pages
Print Icon
To Next Page IconTo Next Page
To Next Page IconTo Next Page
To Previous Page IconTo Previous Page
To Previous Page IconTo Previous Page
Loading...