EasyManua.ls Logo

PURE Evoke D2 - Setting the Alarm

PURE Evoke D2
36 pages
Print Icon
To Next Page IconTo Next Page
To Next Page IconTo Next Page
To Previous Page IconTo Previous Page
To Previous Page IconTo Previous Page
Loading...
9
EN
Setting the alarm and sleep timer
The alarm in Evoke switches the radio on (if in standby) and tunes to a digital or FM radio station or sounds
a tone.
Note: The alarm function does not work when Evoke is being powered by the ChargePAK B1.
FM
Alarm
BBC Radio 2
PM
DR
the latest news
BBC Radio 2
PM
DR
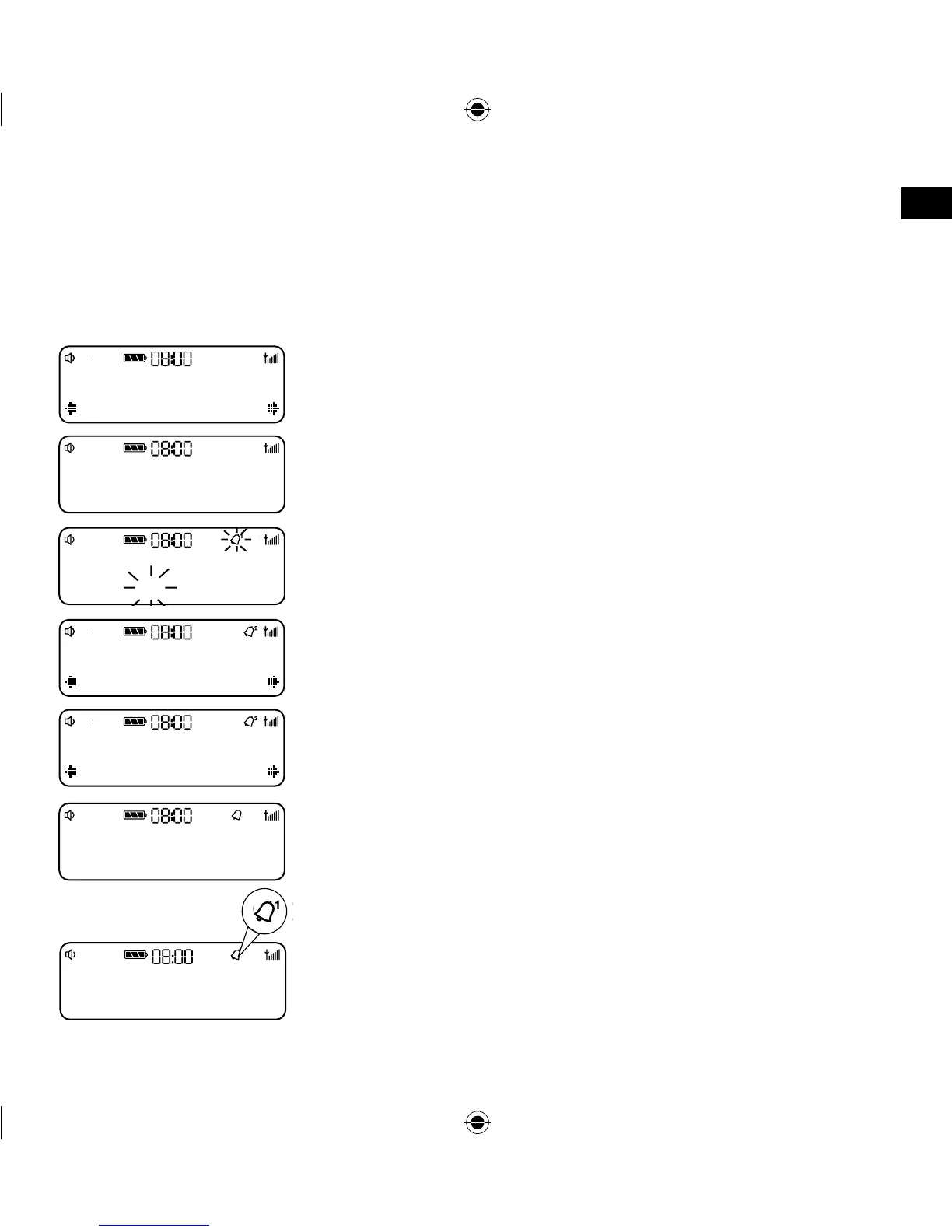
Setting the alarm
1. Press Menu.
2. Turn and press the Select dial to choose ‘Alarm’.
3. Turn and press the Select dial to choose ‘On’.
4. Turn and press the Select dial to set the hour for the alarm. Repeat
to set the minutes for the alarm.
5. Turn and press the Select dial to specify one of the following alarm
repeat options: ‘Once’, ‘Daily’, ‘Weekdays’, ‘Weekends’, ‘Every
Saturday’ or every ‘Every Sunday’ and press Select to confirm.
6. Turn and press the Select dial to specify ‘FM’, ‘DAB’ or ‘Tone’. If
you are specifying a tone alarm, skip to step 9.
7. Turn and press the Select dial to specify which station should be
played when the alarm goes off. You have the option of selecting
one of your preset stations or you can select ‘Last Used’ to select
the station that you were last listening to.
8. Turn and press the Select dial to set the volume that the radio will
play at when the alarm sounds.
9. The alarm icon will appear on the display to show that the alarm is
set.
DRFM
PM
PM
DR
Off <On>
Alarm setup
PM
DR
07:00
Alarm time
DR
Repeat
Daily
DRFM
PM
Alarm source
Tone
DRFM
PM
PM
DR
stored
Alarm
1
Evoke_D2_V3-Nordic.indb 9 2/10/2014 6:22:18 PM

Other manuals for PURE Evoke D2

Related product manuals