EasyManua.ls Logo

QSC DCA Series - Configuring the Accessories

QSC DCA Series
16 pages
Print Icon
To Next Page IconTo Next Page
To Next Page IconTo Next Page
To Previous Page IconTo Previous Page
To Previous Page IconTo Previous Page
Loading...
5
CONFIGURING THE ACCESSORIES
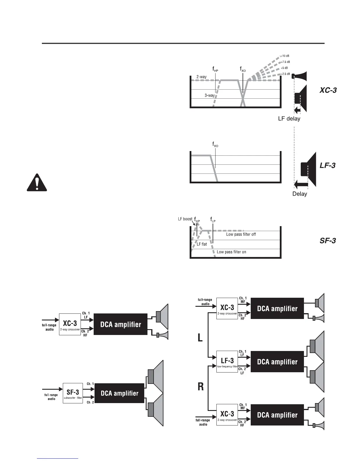
Configurable functions of the three accessory models
Configure each accessory before you mount it to the ampli-
fier. If an accessory is already mounted to an amplifier,
always turn the amplifier off before changing switch set-
tings, changing input or output connections, or detaching the
accessory.
Use the tables on the following pages to determine the
correct SIP resistor network value for the desired frequency
and delay settings. SIP identification charts are included to
help you identify the values of the resistor networks. A
flowchart for each model will help you properly configure the
accessory.
NOTE: Even if you don’t use a particular filter or delay
feature on an accessory, put an unused SIP resistor
network of any value into its socket to ensure circuit
stability when it is powered up.
The SIP resistor networks have no polarity and therefore do
not need to be inserted in a certain direction. Make sure all
eight pins are inserted properly into the socket holes, and
then gently but firmly press the network into the socket until
it is fully seated. If a SIP resistor network is difficult to remove
with your fingers, use a small screwdriver, prying gently first
at one end of the SIP and then the other, until it is loose.
Using the XC-3 in a simple two-way system. In many speaker
systems, a passive mid/high combination will handle the higher
frequencies, creating essentially a three-way system.
Using the XC-3 and LF-3 in a stereo three-way system
Using the SF-3 with a discrete subwoofer channel
Configuring the Accessories

Related product manuals