EasyManua.ls Logo

Quadra-Fire QV36A-FB - Page 17

Quadra-Fire QV36A-FB
56 pages
Print Icon
To Next Page IconTo Next Page
To Next Page IconTo Next Page
To Previous Page IconTo Previous Page
To Previous Page IconTo Previous Page
Loading...
17Quadra-Fire • Expression 36 (QV36A-FB) • 2062-900 Rev. S • 11/11
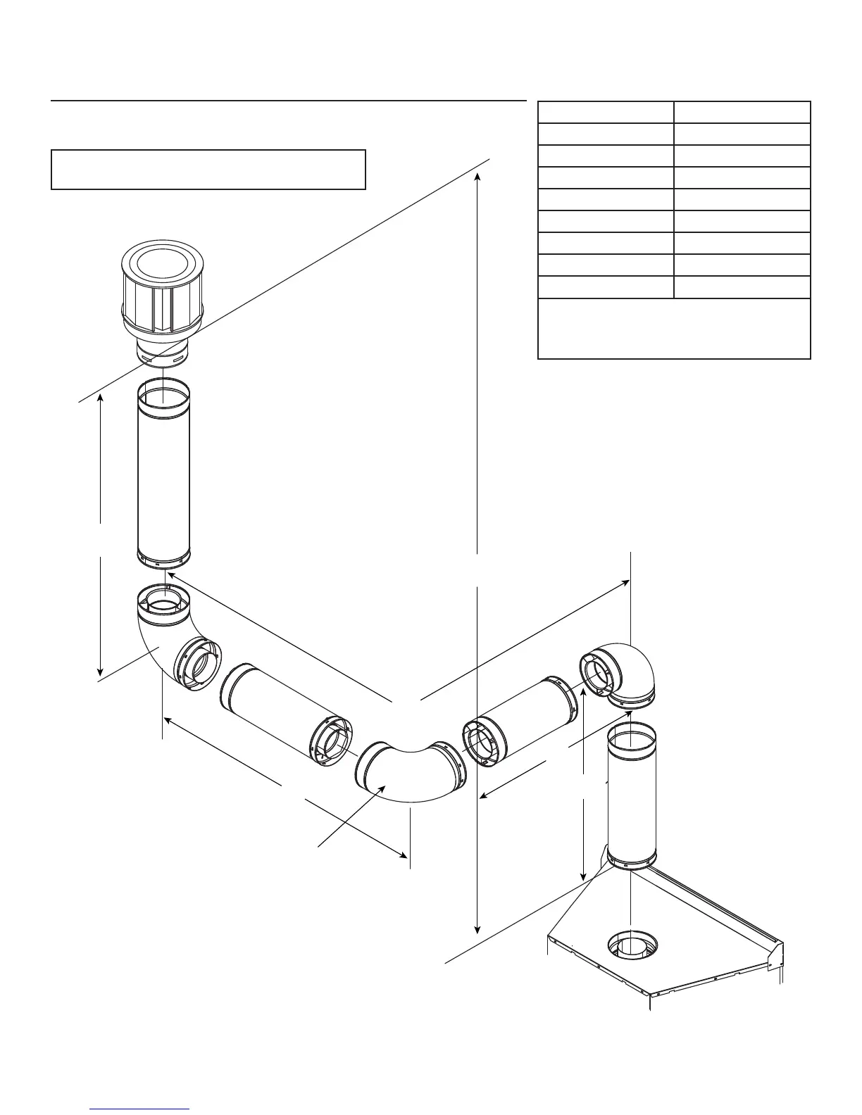
Figure 5.8
2. Top Vent - Vertical Termination - (continued)
Three Elbows
INSTALLED
HORIZONTALLY
H
T
H
2
H
1
V
1
V
2
V
T
V
T
Min. H
T
Max.
1 ft. 6 in. 3 ft.
2 ft. 6 in. 6 ft.
3 ft. 6 in. 9 ft.
4 ft. 10 ft.
4 ft. 6 in. 12 ft.
5 ft. 6 in. 15 ft.
6 ft. 6 in. 18 ft.
7 ft. 6 in. 21 ft.
H
T
= 21 ft. Max
V
T
= 40 ft. Max
V
T
+ H
T
= 30 ft. Max*
Note: A section of vertical pipe (12 inches minimum)
MUST be installed prior to attaching a 90° elbow.
* If the horizontal component is less than
5 feet then the total vent run can be
extended to 40 feet.

Table of Contents