EasyManua.ls Logo

Radio Shack TRS-80 26-3650

Radio Shack TRS-80 26-3650
34 pages
To Next Page IconTo Next Page
To Next Page IconTo Next Page
To Previous Page IconTo Previous Page
To Previous Page IconTo Previous Page
Loading...
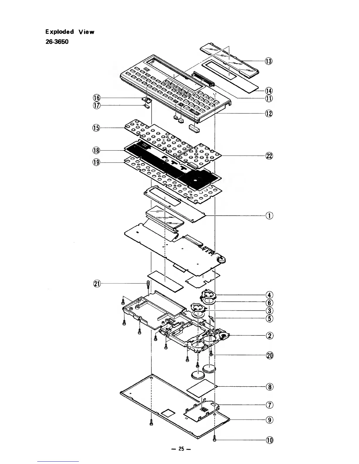
Exploded
View
26-3650

Related product manuals