EasyManua.ls Logo

Radio Shack TRS-80 PC-3

Radio Shack TRS-80 PC-3
289 pages
To Next Page IconTo Next Page
To Next Page IconTo Next Page
To Previous Page IconTo Previous Page
To Previous Page IconTo Previous Page
Loading...
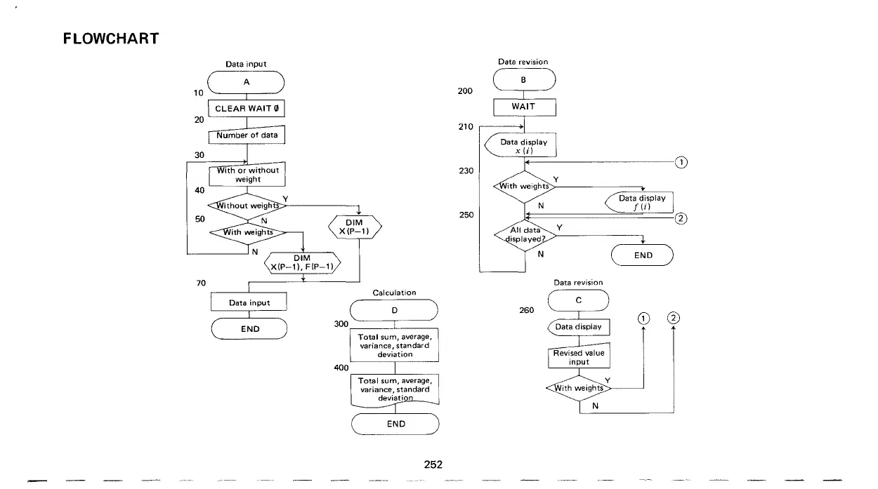
FLOWCHART
o
CD
END)
(
N
Y
ith weights,/--~
Data revision
N
N
260
Data revision
~~====~-----(i)
250
230
210
200
Calculation
ithout
weightsts""Y~-----
40
70
Data input
50
30
20
L--_---,-
__
---l
10
~==::r===~
252

Table of Contents

Related product manuals