EasyManua.ls Logo

Radio Shack TRS-80 PC-3

Radio Shack TRS-80 PC-3
289 pages
To Next Page IconTo Next Page
To Next Page IconTo Next Page
To Previous Page IconTo Previous Page
To Previous Page IconTo Previous Page
Loading...
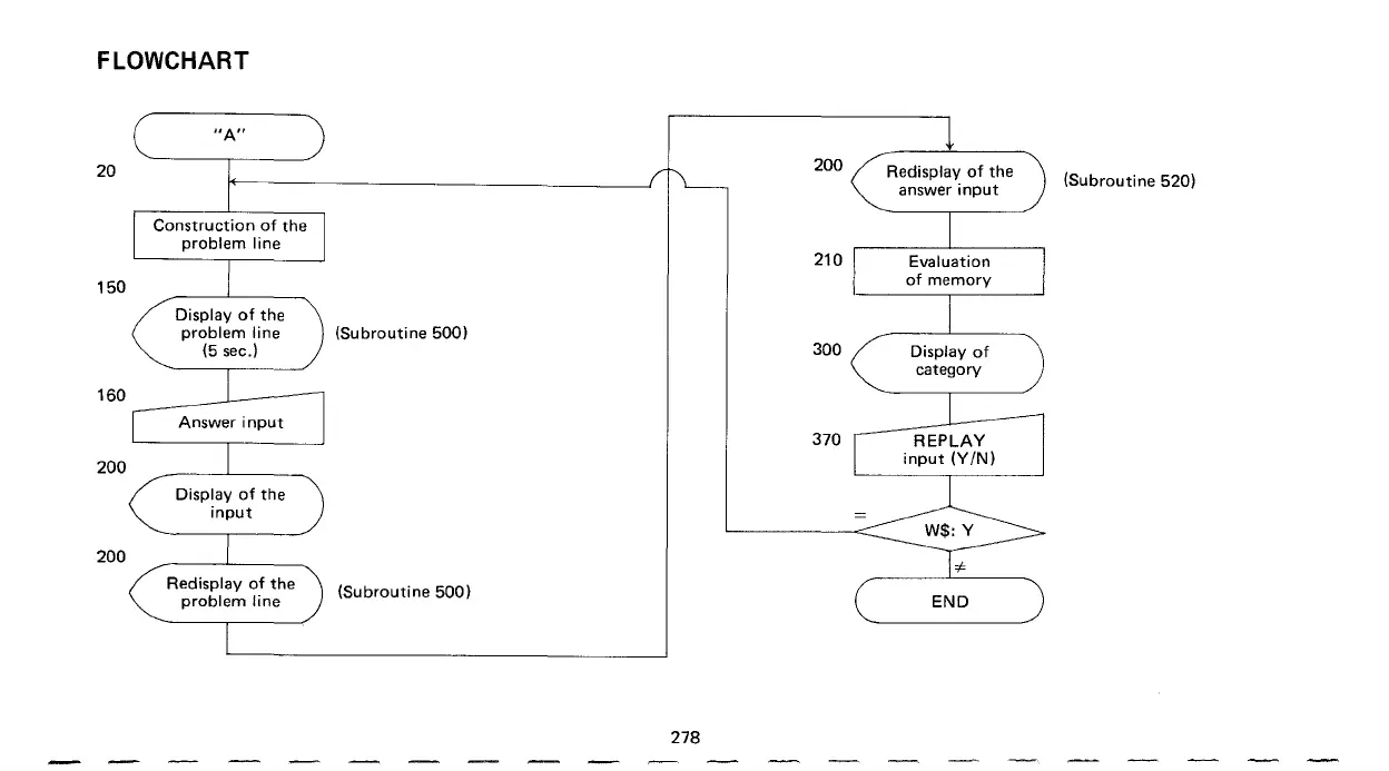
FLOWCHART
"A"
200
Redisplay
of
the
(Subroutine
520)
20
answer
input
210
150
Display
of
the
problem
line
(Subroutine
500)
300
Display
of
(5 sec.)
category
160
370
200
Display
of
the
input
200
oF
Redisplay
of
the
(Subroutine
500)
END
problem
line
278

Table of Contents

Related product manuals