EasyManua.ls Logo

Rainbow 271051 - Prinzipschaltplan Zentraler Massepunkt

Rainbow 271051
Print Icon
To Next Page IconTo Next Page
To Next Page IconTo Next Page
To Previous Page IconTo Previous Page
To Previous Page IconTo Previous Page
Loading...
22
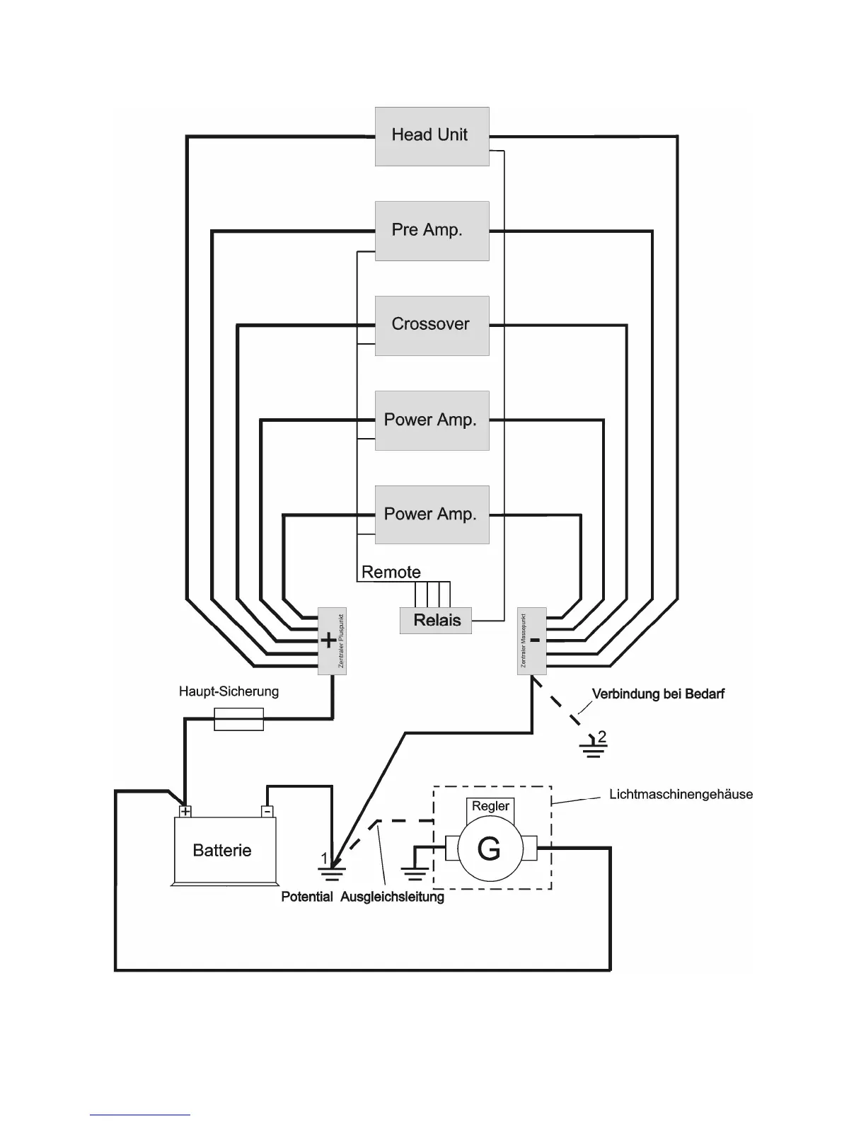
Bild 11: Prinzip Schaltplan Zentraler Massepunkt

Related product manuals