EasyManua.ls Logo

Rainbow 271051 - Page 45

Rainbow 271051
Print Icon
To Next Page IconTo Next Page
To Next Page IconTo Next Page
To Previous Page IconTo Previous Page
To Previous Page IconTo Previous Page
Loading...
22
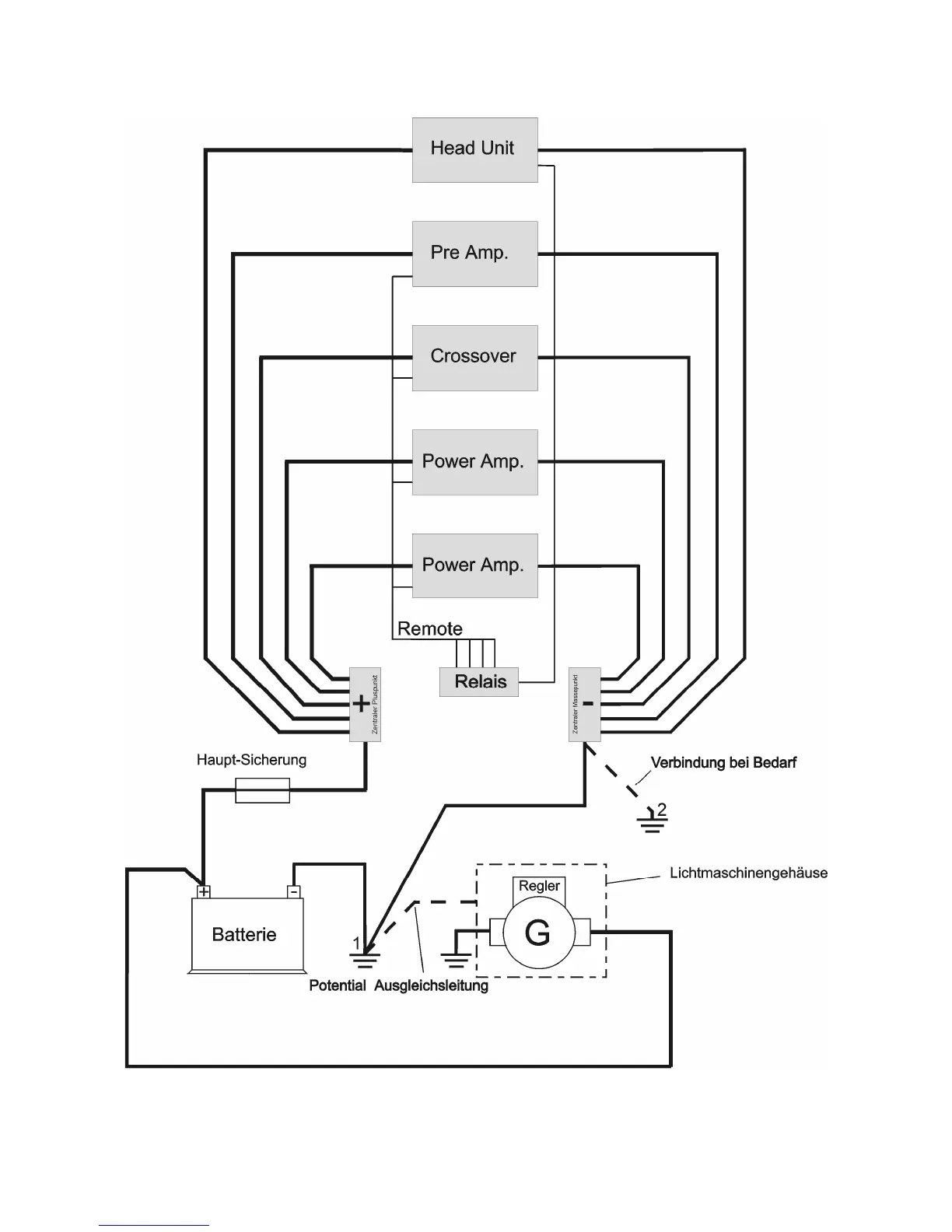
Figure 11: Principal Central Ground Diagram

Related product manuals