EasyManua.ls Logo

RAIS 700 - Flue Outlet Positions

RAIS 700
34 pages
Print Icon
To Next Page IconTo Next Page
To Next Page IconTo Next Page
To Previous Page IconTo Previous Page
To Previous Page IconTo Previous Page
Loading...
ENGLISH RAISmanualforRais700
9
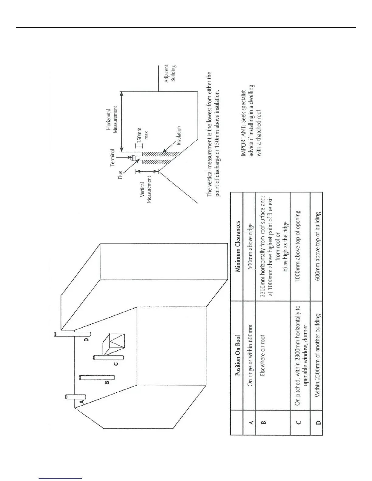
FlueOutletPositions

Related product manuals