EasyManua.ls Logo

RAMSET MD380 - Parts Schematic

Default Icon
16 pages
Print Icon
To Next Page IconTo Next Page
To Next Page IconTo Next Page
To Previous Page IconTo Previous Page
To Previous Page IconTo Previous Page
Loading...
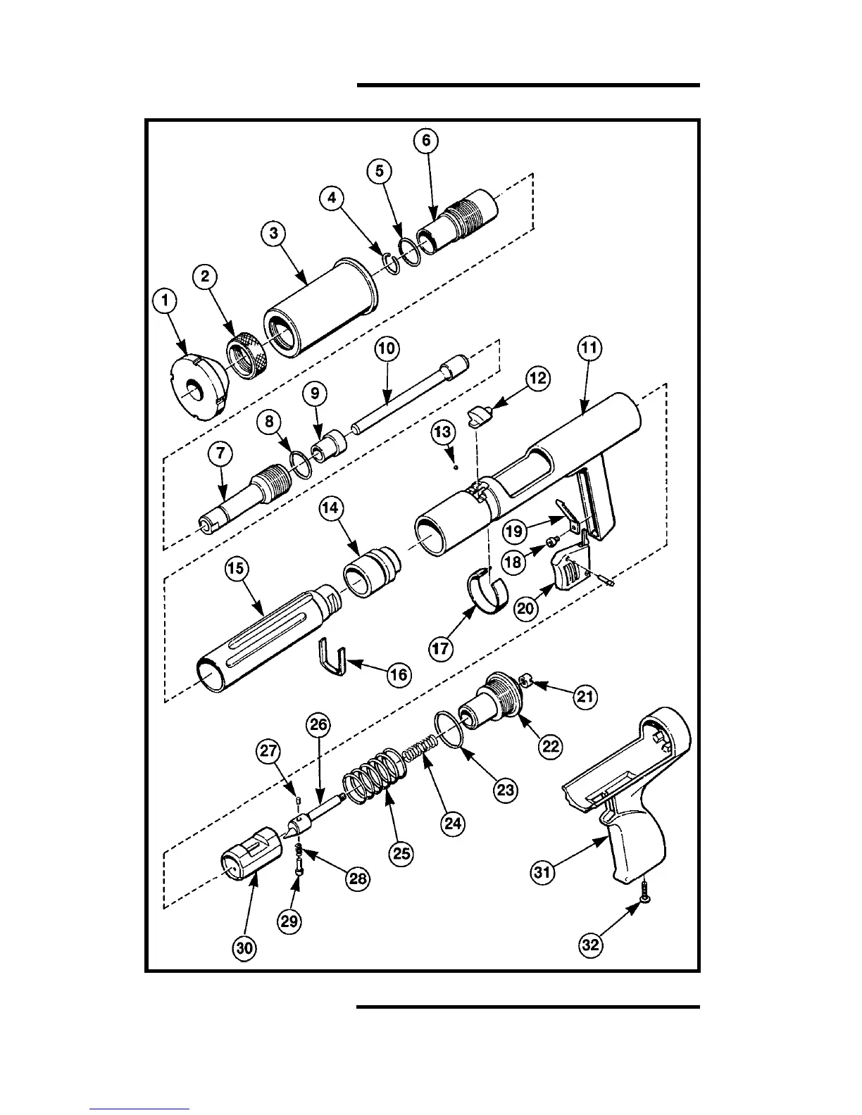
PARTS SCHEMATIC
PARTS SCHEMATIC
12

Related product manuals