EasyManua.ls Logo

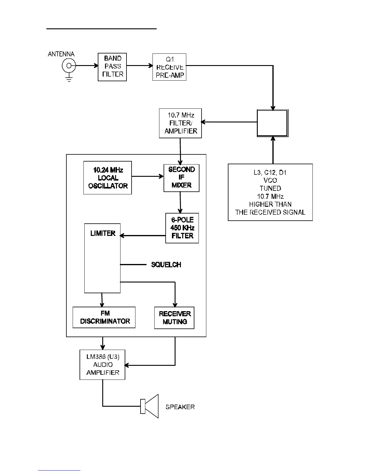
Ramsey Electronics FR146 - Simplified Block Diagram

Default Icon
24 pages
Print Icon
To Next Page IconTo Next Page
To Next Page IconTo Next Page
To Previous Page IconTo Previous Page
To Previous Page IconTo Previous Page
Loading...
FR146 8
U2, 3359
FR146 BLOCK DIAGRAM
U1
SA602
MIXER

Other manuals for Ramsey Electronics FR146

Related product manuals