EasyManua.ls Logo

Rangemaster DxD 910 - Fridge Freezer Controls; Fresh Food Temperature Adjustment; Quick-Chill Function; Freezer Temperature Adjustment

Rangemaster DxD 910
24 pages
Print Icon
To Next Page IconTo Next Page
To Next Page IconTo Next Page
To Previous Page IconTo Previous Page
To Previous Page IconTo Previous Page
Loading...
5
Note: When the ice maker is dropping ice into the upper
freezer drawer, the ice bucket signal of circling dashes will
appear on the dispenser clock screen. It is recommended that
the user wait for the ice cubes to drop before opening the
upper freezer drawer.
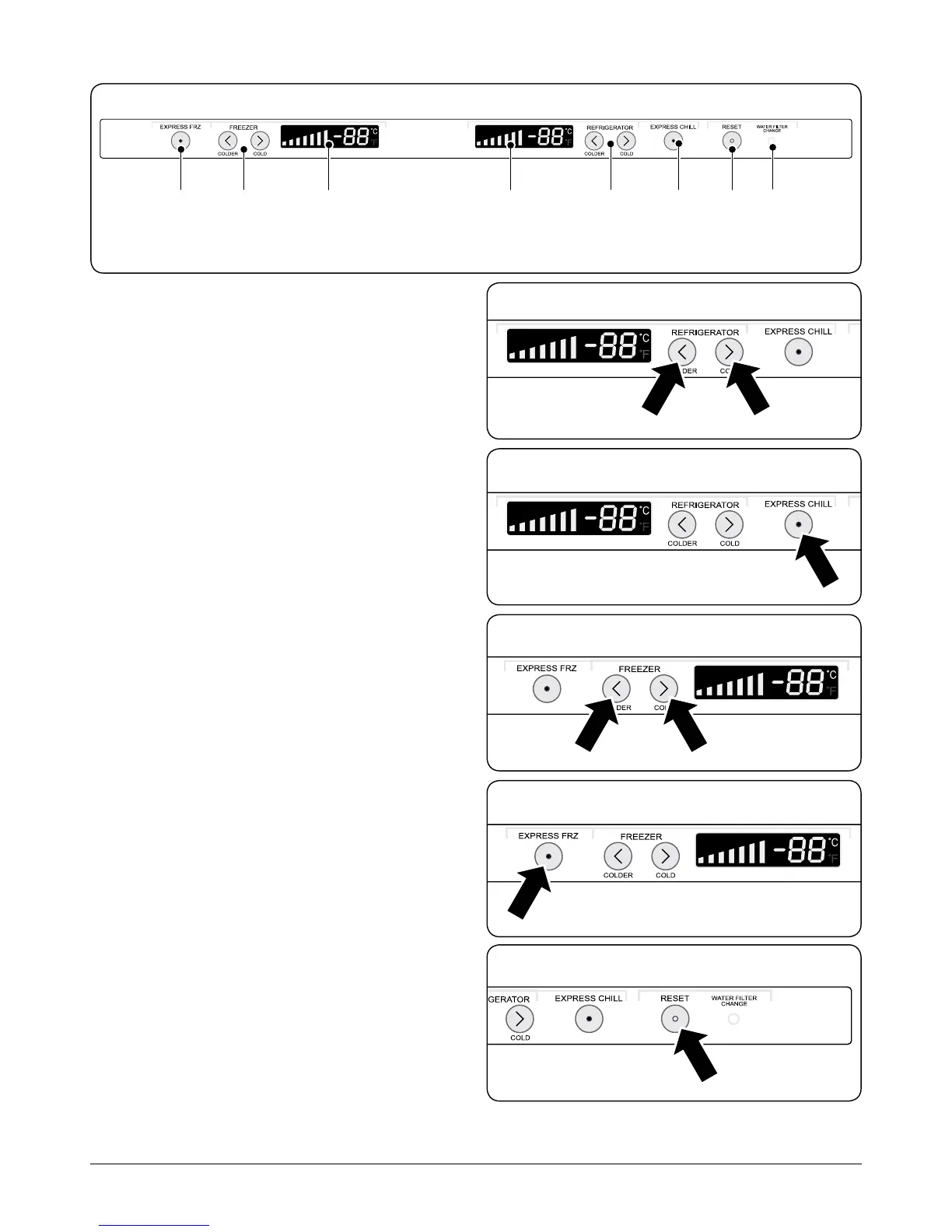
Fridge Freezer Controls
The Fridge Freezer control panel is situated inside the fridge
compartment at the top as shown in Fig.2-11.
Fridge Settings
Adjusting the Fresh Food Temperature
The fridge temperature range is 1 °C to 7 °C.
Press either of the refrigerator adjustment buttons
< or >
(Fig.2-12) and the refrigerator digital display will flicker.
Press button
< to reduce the temperature; press button > to
increase the temperature.
Fresh Food Quick-Chill
Press the Quick Chill button (Fig.2-13) and the Fresh
Food quick-chill refrigerator indicator lamp will illuminate.
The refrigerator is now in quick-chill refrigerator mode.
The refrigerator will switch out of quick-chill mode when
the storage temperature is 1 °C lower than the desired
temperature.
If you want to switch off the quick-chill mode, press the Quick
Chill button. The quick-chill indicator lamp will go out, and
the refrigerator will be out of quick-chill mode.
Freezer Settings
Adjusting the Freezer Temperature
The freezer temperature range is –19 °C to –13 °C.
Press either of the freezer temperature adjustment buttons
<
or >(Fig.2-14) and the freezer digital display will flicker.
Press button
< to reduce the temperature; press button > to
increase the temperature.
Freezer Quick-Freeze
The quick-freeze function is designed to freeze food
completely in the shortest possible time.
Press Quick Freeze button and the quick-freeze button
indicator lamp will illuminate (Fig.2-15). The freezer is now in
the quick-freeze mode.
ArtNo.600-0015 - Fridge freezer control panel

Fig.2-11
ArtNo.600-0036 - Fridge controls 1
ArtNo.600-0037 - Fridge controls 2
ArtNo.600-0038 - Freezer controls 1
ArtNo.600-0039 - Freezer controls 2
ArtNo.600-0040 - Freezer controls 3
Fig.2-12
Fig.2-13
Fig.2-14
Fig.2-15
Fig.2-16
A – Quick freeze button,
B – Freezer temperature adjusting buttons,
C – Freezer temperature display,
D – Refrigerator temperature display,
E – Refrigerator temperature adjusting buttons,
F – Refrigerator quick chill button,
G – Water filter reset button,
H – Water filter indicator

Related product manuals