EasyManua.ls Logo

Ravanson CS-24S - Подключение Электропитания

Ravanson CS-24S
Print Icon
To Next Page IconTo Next Page
To Next Page IconTo Next Page
To Previous Page IconTo Previous Page
To Previous Page IconTo Previous Page
Loading...
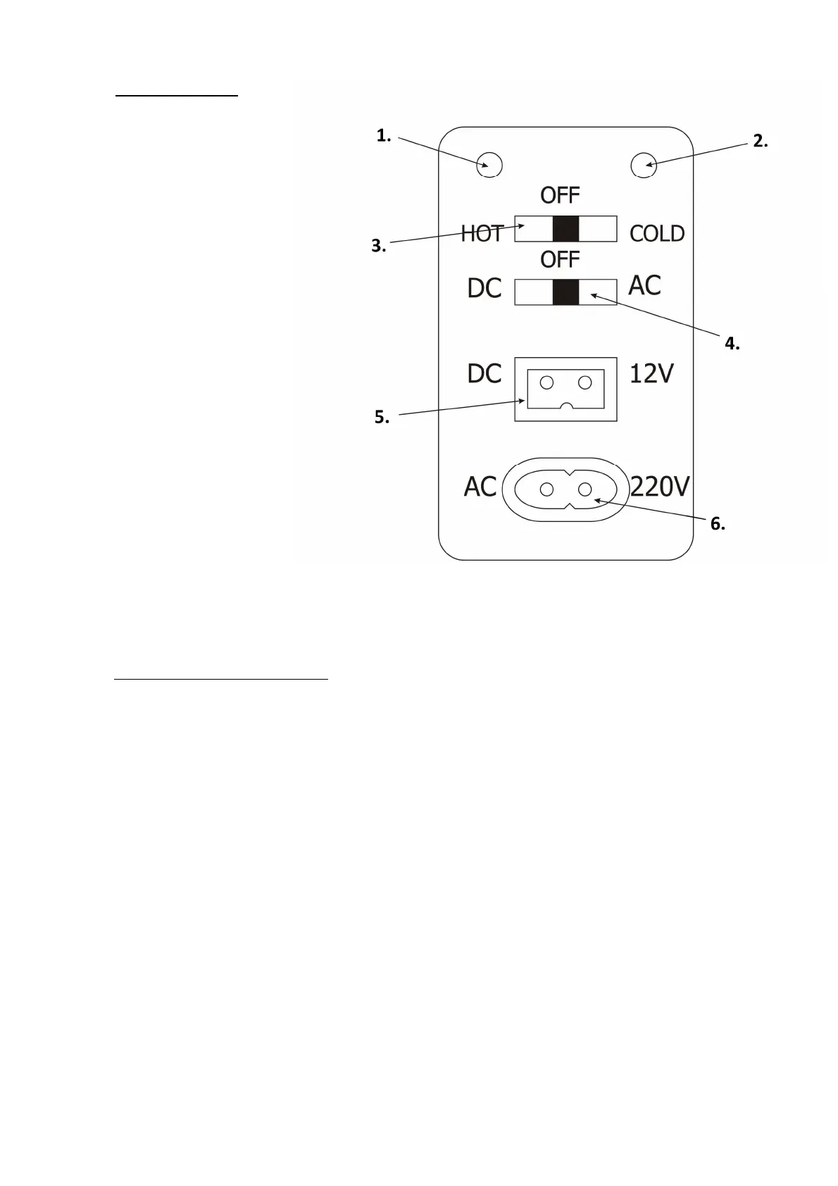
A. ПУЛЬТ УПРАВЛЕНИЯ
1. Индикатор охлаждения
2. Индикатор нагрева
3. Переключатель функции
4. Переключатель питания
5. Гнездо электропитания 12В (DC)
6. Гнездо электропитания 220-240В, 50 Гц (AC)
ВНИМАНИЕ!
В зависимости от модели холодильника, пульты управления могут отличаться друг от друга.
Б. ПОДКЛЮЧЕНИЕ ЭЛЕКТРОПИТАНИЯ
ВНИМАНИЕ!
Модель CS-24S имеет возможность питаться ТОЛЬКО от гнезда автомобильной зажигалки (12В - DC)!
ПЕРЕД ПОДКЛЮЧЕНИЕМ ПИТАНИЯ:
1. Проверить, находится ли ПЕРЕКЛЮЧАТЕЛЬ ФУНКЦИИ в позиции „OFF”
2. Проверить, находится ли ПЕРЕКЛЮЧАТЕЛЬ ПИТАНИЯ в позиции „OFF”
3. Подсоединить соответствующий провод, питающий в зависимости от источника
электропитания:
a. От гнезда автомобильной зажигалки 12В - к гнезду в холодильнике, отмеченного
„DC 12V
б . От электрической сети 220-240 В - к гнезду в холодильнике, отмеченного „AC 220V”
4. ПЕРЕКЛЮЧАТЕЛЬ ПИТАНИЯ установить в позицию, которая соответствует источнику питания:
a. DC – питание от гнезда автомобильной зажигалки 12В
Б. AC – питание от электрической сети 220 – 240В
5. Вставить штепсель в гнездо питания
6. ПЕРЕКЛЮЧАТЕЛЕМ ФУНКЦИИ переключить на выбранный режим работы („COLD”
Охлаждение, „HOT” Нагрев). О выбранном месте работы сигнализирует лампочка красного
цвета - нагрев или зеленого цвета - охлаждение
Устройство можно выключить в произвольный момент, устанавливая ПЕРЕКЛЮЧАТЕЛЬ ПИТАНИЯ или
ПЕРЕКЛЮЧАТЕЛЬ ФУНКЦИИ в позицию „OFF”.