EasyManua.ls Logo

Ravanson CS-24S - Operation

Ravanson CS-24S
Print Icon
To Next Page IconTo Next Page
To Next Page IconTo Next Page
To Previous Page IconTo Previous Page
To Previous Page IconTo Previous Page
Loading...
3. During operation (ref. 12V supply) ensure there is no recurring voltage interruption when the vehicle
engine is switched on and off frequently.
ATTENTION!
When the fridge is powered by means of a vehicle battery, during stops it can discharge it significantly which
can hinder vehicle engine activation.
NOTE!
Temperature change in the insulated fridge container (frequent opening or switching off) leads to natural
phenomena in the form of frost or condensation on the container walls, on the cover inside and on the food
products.
V. OPERATION
Place the refrigerator on a stable and level surface. Connect the power cord to the power source.
The fridge will start cooling or heating the internal chamber immediately.
ATTENTION!
After reaching the minimum/maximum temperature the device does not turn off automatically.
The cooling system operates continuously when it is connected to the power source and the function and
power switches are in the work mode.
ADVICES TO ACHIEVE THE BEST COOLING PERFORMANCE:
Choose a well ventilated place for the fridge. Protect against sunlight
Always put pre-cooled food/drinks in the fridge
Do not open the refrigerator more than necessary
Do not open for longer than is necessary
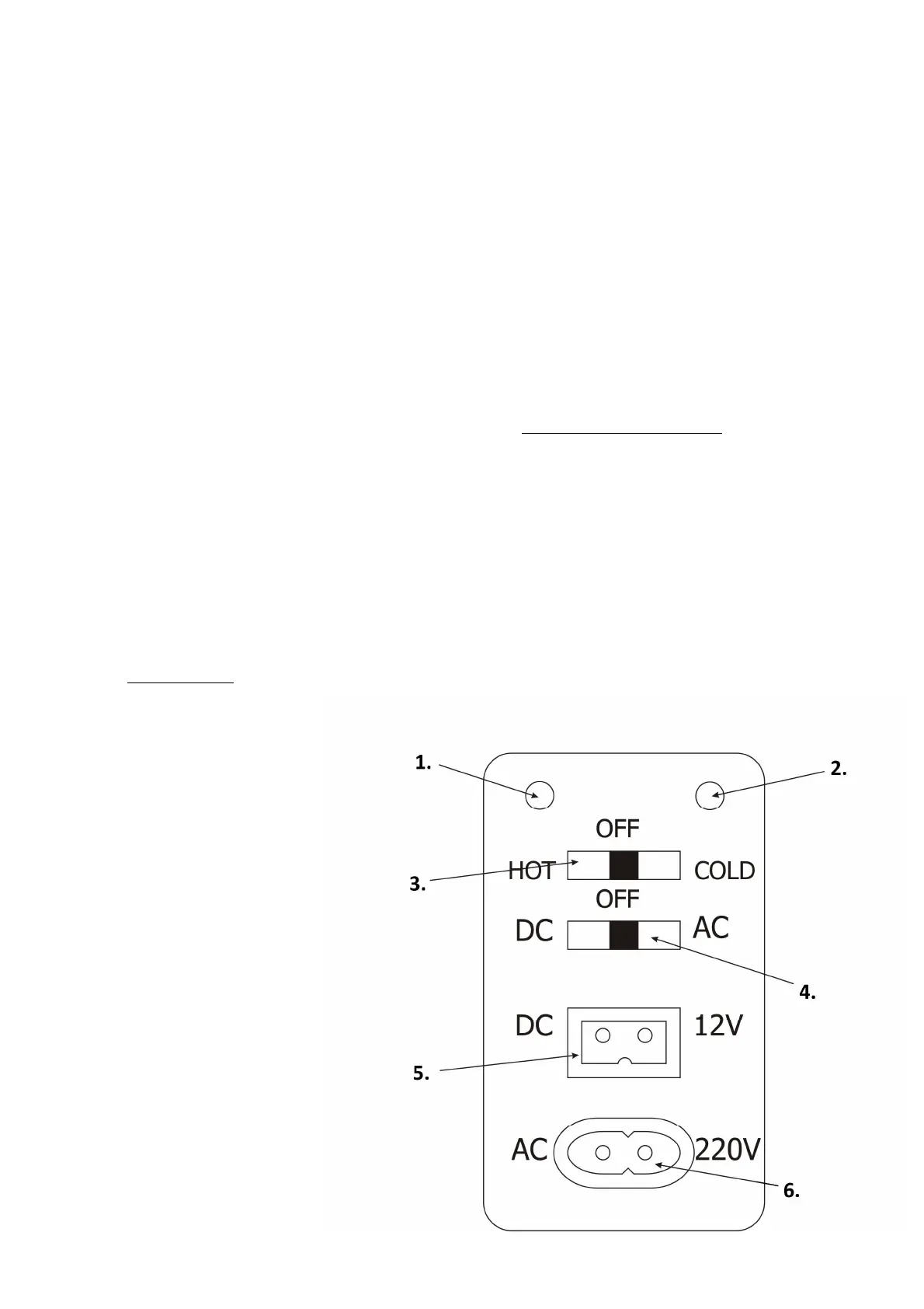
A. CONTROL PANEL
1. Cooling indicator
2. Heating indicator
3. Function switch
4. Power switch
5. Power port 12V (DC)
6. Power port 220-240V, 50Hz (AC)