EasyManua.ls Logo

Ravanson CS-24S - Page 35

Ravanson CS-24S
Print Icon
To Next Page IconTo Next Page
To Next Page IconTo Next Page
To Previous Page IconTo Previous Page
To Previous Page IconTo Previous Page
Loading...
DĖMESIO!
Jei šaldytuvas maitinamas automobilio akumuliatoriaus stovėjimo metu, akumuliatorius gali išsikrauti ir dėl
to gali atsirasti problemų automobilio užvedimo metu.
DĖMESIO!
Dėl temperatūros pasikeitimų izoliuotoje šaldytuvo kameroje arba vidinėje dangtelio pusėje bei pačiuose maisto
produktuose (dažnai atidaroma bei išjungiama) gali susidaryti šerkšnas arba susikaupti kondensatas.
V. NAUDOJIMAS
Pastatykite šaldytuvą ant stabilaus ir lygaus paviršiaus. Prijunkite jungiamąjį kabelį prie srovės šaltinio.
Šaldytuvas iš karto pradeda darbą (šaldo arba šildo).
DĖMESIO!
Pasiekus minimalią/maksimalią temperatūrą įrenginys neišsijungia automatiškai.
Aušinimo sistema dirba nepertraukiamai, kol įrenginys yra prijungtas prie maitinimo šaltinio, o režimų
ir maitinimo jungikliai yra darbo režime.
PATARIMAI, KAIP PASIEKTI GERIAUSIĄ ŠALDYMO NAŠUMĄ:
Įrenginys turi stovėti gerai vėdinamoje vietoje. Būtina jį saugoti nuo tiesioginių saulės spindulių
Į šaldytuvą galima dėti tik anksčiau atšaldytus maisto produktus/gėrimus
Neatidarinėkite šaldytuvo be būtinybės
Šaldytuvą atidarykite ne ilgesniam laikui nei reiki
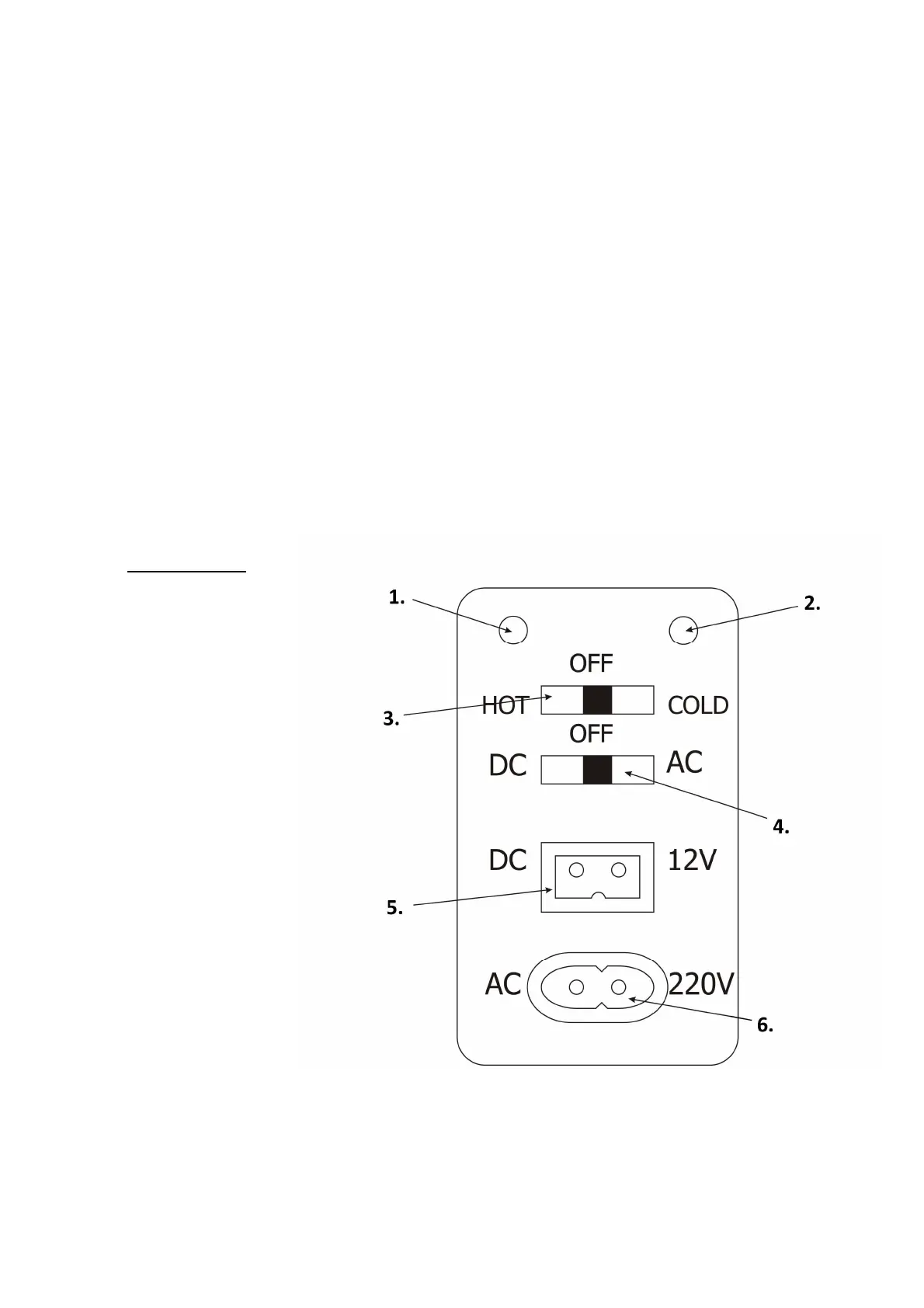
A. VALDYMO SKYDAS
1. Aušinimo rodiklis
2. Šildymo rodiklis
3. Režimų jungiklis
4. Maitinimo jungiklis
5. Maitinimo lizdas 12V (DC)
6. Maitinimo lizdas 220-240V, 50Hz (AC)