EasyManua.ls Logo

RBI SB - Page 7

RBI SB
32 pages
Print Icon
To Next Page IconTo Next Page
To Next Page IconTo Next Page
To Previous Page IconTo Previous Page
To Previous Page IconTo Previous Page
Loading...
SPECTRUM INSTALLATION AND OPERATING INSTRUCTIONS Page 7
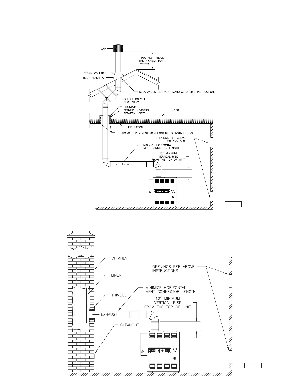
Figure 1 - Vertical Venting with a Metal Chimney System and Inside Air
Figure 2 - Vertical Venting using a Masonry Chimney and Inside Air
10 FT 3.1m
RIOM-51
RIOM-52

Related product manuals