EasyManua.ls Logo

RCA J32H700 - Page 116

RCA J32H700
184 pages
Print Icon
To Next Page IconTo Next Page
To Next Page IconTo Next Page
To Previous Page IconTo Previous Page
To Previous Page IconTo Previous Page
Loading...
Chapitre 1: Branchements et installation
24
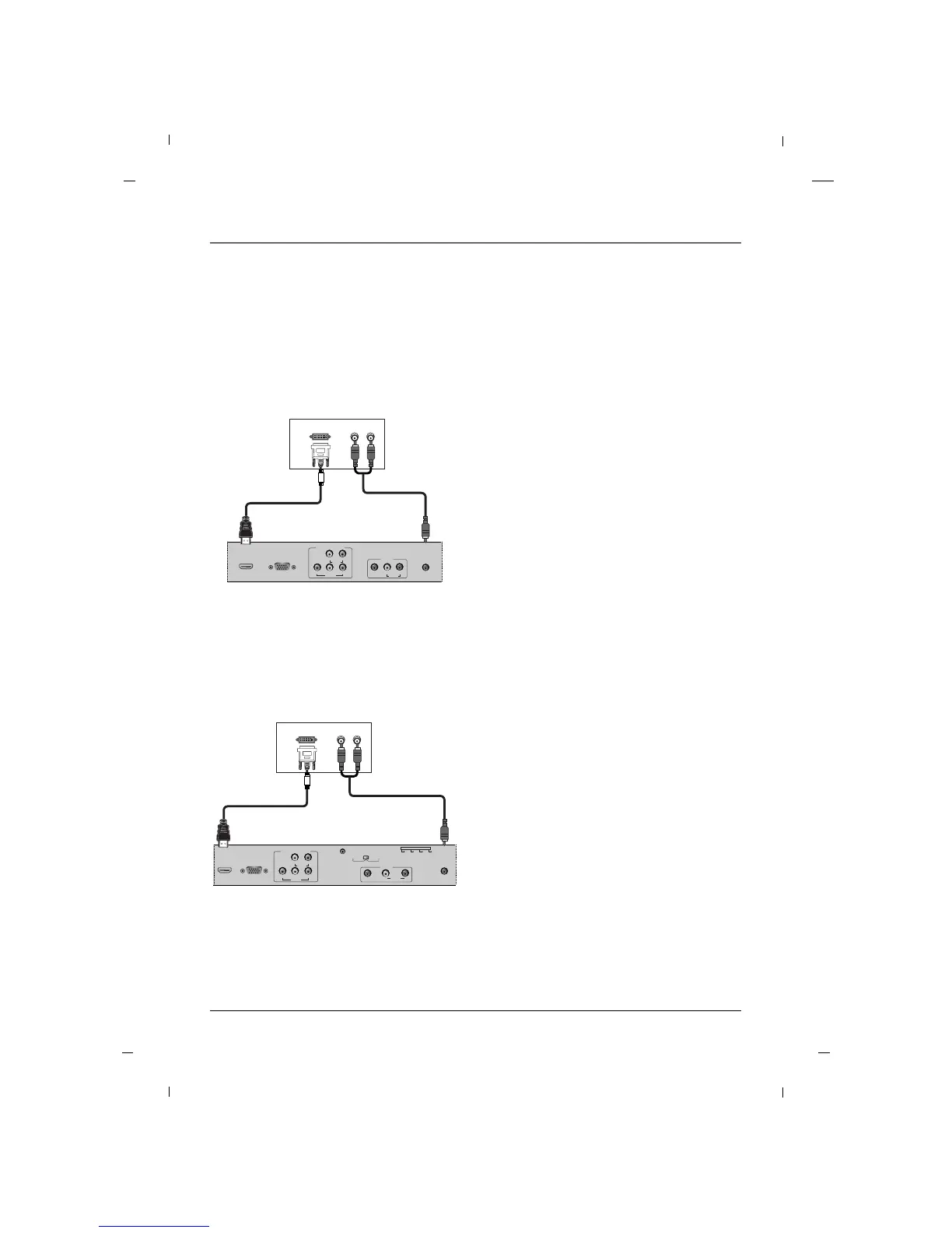
AA Branchement à l'aide d'un câble HDMI à DVI - 26/32/42 pouces
HDMI/DVI
IN
RGB IN
(PC)
AUDIO IN
(RGB/DVI)
VIDEO
YPbPr
LR
COMPONENT IN
AUDIO
AV1
AUDIO
L
VIDEO
R
DVI-DTV OUTPUT
(R) AUDIO (L)
1. Reliez la sortie DVI du convertisseur à l'entrée
HDMI/DVI IN du téléviseur.
2. Reliez les sorties Audio du convertisseur aux
entrées AUDIO IN (RGB/DVI) du téléviseur.
3. Allumez le convertisseur.
4. Choisissez la source HDMI à l'aide de la fonction
INPUT de la télécommande.
5. Consultez le Guide du convertisseur pour de plus
amples renseignements sur son utilisation.
Convertisseur numérique
Arrière de l’appareil
AA Branchement à l'aide d'un câble HDMI à DVI - 22 pouce
HDMI/DVI
IN
RGB IN
(PC)
AUDIO IN
(RGB/DVI)
VIDEO
YPb Pr
LR
COMPONENT IN
AUDIO
SERVICE
SPEAKER
SWITCH
PILLOW
SPEAKER
NORMAL
SPEAKER
AV1
AUDIO
L
VIDEO
R
ZEN PLS OFF RCA
DVI-DTV OUTPUT
(R) AUDIO (L)
1. Reliez la sortie DVI du convertisseur à l'entrée
HDMI/DVI IN du téléviseur.
2. Reliez les sorties Audio du convertisseur aux
entrées AUDIO IN (RGB/DVI) du téléviseur.
3. Allumez le convertisseur.
4. Choisissez la source HDMI à l'aide de la fonction
INPUT de la télécommande.
5. Consultez le Guide du convertisseur pour de plus
amples renseignements sur son utilisation.
Convertisseur numérique
Arrière de l’appareil
Chapitre 1

Table of Contents

Related product manuals