EasyManua.ls Logo

RCA J32H700 - HDSTB Connection via HDMI;DVI

RCA J32H700
184 pages
Print Icon
To Next Page IconTo Next Page
To Next Page IconTo Next Page
To Previous Page IconTo Previous Page
To Previous Page IconTo Previous Page
Loading...
Chapter 1: Connections and Setup
24
AA When connecting with a HDMI to DVI cable - 26/32/42 inches
HDMI/DVI
IN
RGB IN
(PC)
AUDIO IN
(RGB/DVI)
VIDEO
YPbPr
LR
COMPONENT IN
AUDIO
AV1
AUDIO
L
VIDEO
R
DVI-DTV OUTPUT
(R) AUDIO (L)
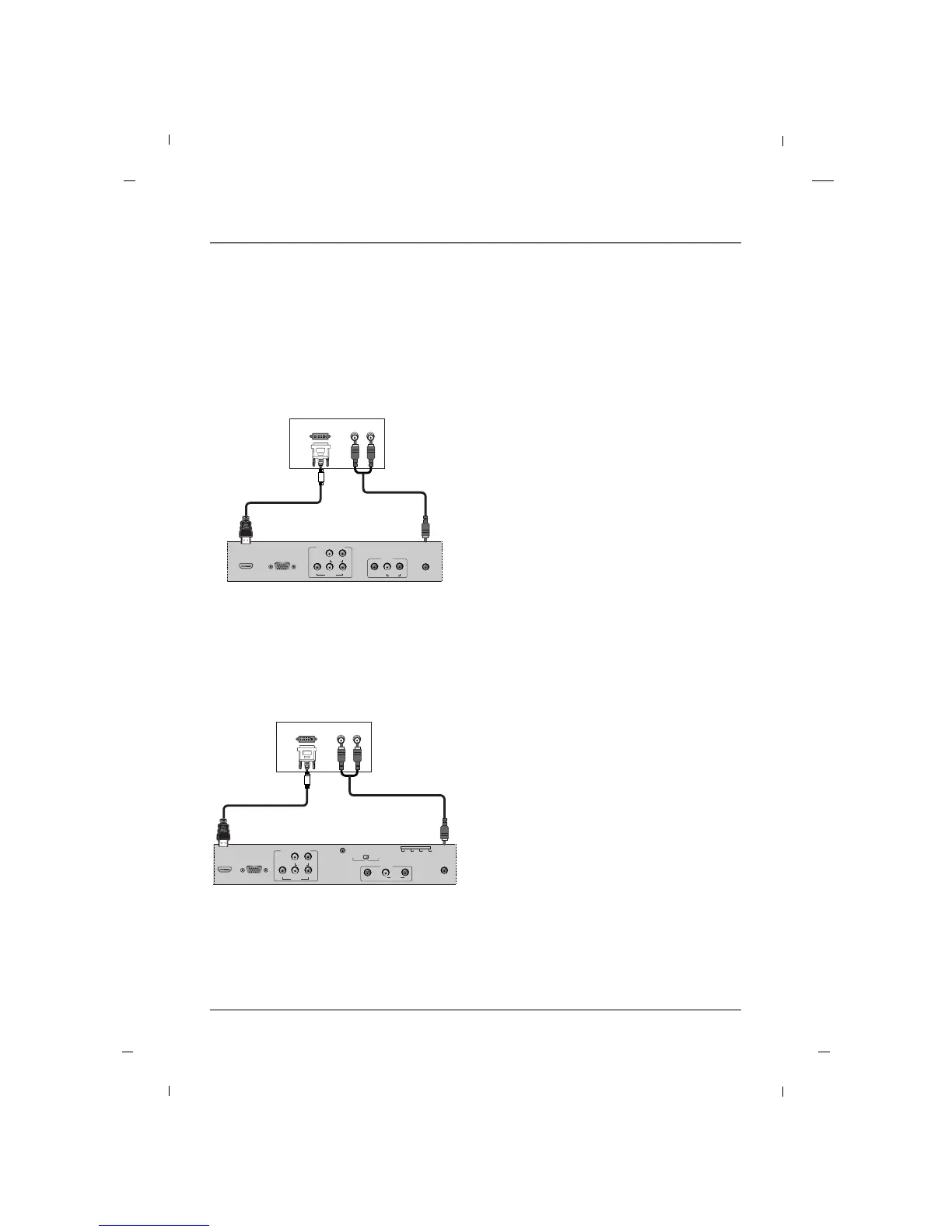
1. Connect the DVI output of the digital set-top box
to the HDMI/DVI IN jack on the set.
2. Connect the audio outputs of the set-top box to
the AUDIO IN (RGB/DVI) jack on the set.
3. Turn on the digital set-top box.
4. Select HDMI input source using the INPUT button
on the remote control.
5. Refer to the digital set-top box manual for oper-
ating instructions.
Digital Set-top Box
Rear panel of the set
AA When connecting with a HDMI to DVI cable - 22 inch
HDMI/DVI
IN
RGB IN
(PC)
AUDIO IN
(RGB/DVI)
VIDEO
YPb Pr
LR
COMPONENT IN
AUDIO
SERVICE
SPEAKER
SWITCH
PILLOW
SPEAKER
NORMAL
SPEAKER
AV1
AUDIO
L
VIDEO
R
ZEN PLS OFF RCA
DVI-DTV OUTPUT
(R) AUDIO (L)
1. Connect the DVI output of the digital set-top box
to the HDMI/DVI IN jack on the set.
2. Connect the audio outputs of the set-top box to
the AUDIO IN (RGB/DVI) jack on the set.
3. Turn on the digital set-top box.
4. Select HDMI input source using the INPUT button
on the remote control.
5. Refer to the digital set-top box manual for oper-
ating instructions.
Digital Set-top Box
Rear panel of the set
Chapter 1

Table of Contents

Related product manuals