1. Read these Ins
2. Keep these I
3. Heed all Warnings.
4. Follow all ins
5. Do not use this apparatus near water.
6. Clean only with a dry cloth.
7. Do not block any
openings. Install in accordance with the
manufacturer’s ins
8. Do not install near any heat sources such as radiators, heat registers, stoves, or
other apparatus (including amplifier) that product heat.
9. Protect the power cord from being walke
convenience receptacles, and the point where they exit from the apparatus.
10. Only use a
chments/accessories specified by the manufacturer.
11. Unplug this apparatus during lightning storms or when unused for long periods
12. Refer all servicing to qualified service personnel. Servicing is required when the
apparatus has been damaged in any way, such as power-supply cord or plug is
damaged, liquid has been spilled or objects have fallen into the apparatus, the
apparatus has been exposed to rain or moisture, does not operate normally, or
has been dropped.
13. Use only with a cart, stand, tripod, bracket, or table specified by
the manufacturer or sold with the apparatus. When a cart is
at
to avoid injury fr .
1
MODEL NO.
RPJ107-BLACK
Home Theater Projector with Bluetooth
PLEASE READ BEFORE OPERATING THIS EQUIPMENT
This product is manufactured and sold by Curtis International Ltd.
RCA, the RCA logo, the two dogs (Nipper and Chipper) logo, are registered
trademarks or trademarks of RCA Trademark Management and are used
under license by Curtis International Ltd. Any other product, service,
company, trade or product name and logo referenced herein are neither
endorsed nor sponsored by RCA Trademark Management or its affiliates.
Ideal for dark viewing environments for optimal performance.
Please note:Projector brightness is measured in ANSI lumens.
Your viewing environment is the deciding factor on how many lumens
your projector needs.
Warnings and P
1. Do not look directly into the projector light.
2. Don’t touch the project lens.
3. Mains adapter is used as disconnect device and it should remain readily
operable during intended use. In order to disconnect the apparatus from
the mains completely, the mains plug should be disconnected from the
mains socket outlet completely.
4. CAUTION: Use of controls or adjustments or performance of procedures
other than those specified may result in hazardous radiation exposure.
5. WARNING: Changes or modified to this unit not expressly approved by
the party responsible for compliance could void the user’s authority to
operate the equipment.
6. WARNING: Use of this unit near fluorescent lighting may cause
interference regarding use of the remote. If the unit is displaying erratic
behavior move away from any fluorescent lighting, as it may be the
cause.
7. WARNING: Shock hazard - Do Not Open.
8. Caution and marking information is located at the rear or bottom of the
apparatus.
9. WARNING: To reduce the risk of fire or electric shock, do not expose this
apparatus to rain, moisture, dripping, or splashing.
10. Objects filled with liquids, such as vases, shall not be placed on the
apparatus.
2
FCC Warning
FCC ID: 2ANH7696PJ28BT
This device complies with Part 15 of the FCC rules. Operation is subject to the
following two conditions: (1) this device may not cause harmful interference,
and (2) this device must accept any interference received, including
interference that may cause undesired operation.
NOTE: This equipment has been tested and found to comply with the limits for
a Class B digital device, pursuant to Part 15 of the FCC Rules. These limits are
designed to provide reasonable protection against harmful interference in a
residential installation. This equipment generates, uses, and can radiate radio
frequency energy and, if not installed and used in accordance with the
instructions, may cause harmful interference to radio communications.
However, there is no guarantee that interference will not occur in a particular
installation. If this equipment does cause harmful interference to radio or
television reception, which can be determined by turning the equipment off and
on, the user is encouraged to try to correct the interference by one or more of
the following measures:
• Reorient or relocate the receiving antenna.
• Increase the separation between the equipment and receiver.
• Connect the equipment into an outlet on a circuit different from that to
which the receiver is connected.
• Consult the dealer or an experienced radio/TV technician for help.
In The Box
3
Remote
Main unit
Lens Cover User ManualAC Power Adapter
OK
2
ABC
1/
@
3
DEF
4
GHI
5
JKL
6
MNO
7
PQRS
8
TUV
9
WXYZ
0
F
LIP
MENU
EXIT
FAV/
RECAL L
Table of Contents
Important Safety Instructions - - - - - - - - - - - - - - - - - - - - - - - - - - - - P1
Additional Warnings and Precautions - - - - - - - - - - - - - - - - - - - - - - P2
FCC Warning - - - - - - - - - - - - - - - - - - - - - - - - - - - - - - - - - - - - - - - - - P3
In The Box - - - - - - - - - - - - - - - - - - - - - - - - - - - - - - - - - - - - - - - - - P3
Table of Contents - - - - - - - - - - - - - - - - - - - - - - - - - - - - - - - - - - - - P4
Remove & Close the Lens Cover - - - - - - - - - - - - - - - - - - - - - - - - - P5
Placing Your Projector - - - - - - - - - - - - - - - - - - - - - - - - - - - - - - - - P5
To Reduce Image Distortion - - - - - - - - - - - - - - - - - - - - - - - - - - - - P6
Distance Between The Projector And Screen - - - - - - - - - - - - - - - - P6
Installing your Projector in the Ceiling - - - - - - - - - - - - - - - - - - - - - P6
Adjust the Vertical Location
- - - - - - - - - - - - - - - - - - - - - - - - - - - - P7
Adjust the Focus and Keystone - - - - - - - - - - - - - - - - - - - - - - - P7
Controls of Remote - - - - - - - - - - - - - - - - - - - - - - - - - - - - - - - - - - - P8
Install / Remove Battery Of Remote - - - - - - - - - - - - - - - - - - - - - - - P8
Controls of Projector - - - - - - - - - - - - - - - - - - - - - - - - - - - - - - - - - P9
Install Power Adapter - - - - - - - - - - - - - - - - - - - - - - - - - - - - - - - - - P10
Main Button Operation - - - - - - - - - - - - - - - - - - - - - - - - - - - - - - - - - P10
Connect HDMI Show the Image On Projector Screen
Connect AV Show The Image On Projector Screen - - - - - - - - - - - -
P11
Connect VGA Show The Image On Projector Screen - - - - - - - - - - - P12
Connect Audio Output (Aux Out / Line Out / Earphones) - - - - - - - - P13
Install USB Device And Micro Sd Card “TF” - - - - - - - - - - - - - - - - - P13
Using TF Card and USB Playback (Media Player) - - - - - - - - - - - - P14
Using Bluetooth Playback - - - - - - - - - - - - - - - - - - - - - - - - P15
Using Projector Menu 1.0 - - - - - - - - - - - - - - - - - - - - - - - - - - - - - - - P16
Using Projector Menu 2.0 - - - - - - - - - - - - - - - - - - - - - - - - - - - - - - - P17
Using Projector Menu 3.0 - - - - - - - - - - - - - - - - - - - - - - - - - - - - - - - P18
Specification
Warranty Card
s - - - - - - - - - - - - - - - - - - - - - - - - - - - - - - - - - - - - - - -
- - - - - - - - - - - - - - - - - - - - - - - - - - - - - - - - - - - - - - -
P19
P20
4
- - - - - - - - - P11
Remove & Close The Lens Cover
Placing Your Projector
Your projector can be installed in four different configurations (see picture below):
5
Remove the lens cover before using
Close the lens cover when unit not using
Front Ceiling
Rear Ceiling
Rear Table
Front Table
Front Table:
Select this location with the projector placed near
the floor in front of the screen. This is the most
common way to position the projector for quick
setup and portability.
Rear Table:
Select this location with the projector placed near
the floor behind the screen.
NOTE: That a special rear projection screen is
required.
Front Ceiling:
Select this location with the projector suspended
upside-down from the ceiling in front of the screen.
NOTE: A projector mount is required to install the
projector in a ceiling.
Rear Ceiling:
Select this location with the projector suspended
upside-down from the ceiling behind the screen.
NOTE: A projector mount is required to install the
projector in a ceiling.
A special rear projection screen is required.
LENS COVER
REMOVE
OK
CLOSE
LENS COVE R
OK
To Reduce Image Dist
Distance Between The Projector And Screen
Measure the distance between the projector and where you want to position
the screen. This is the projection distance.
Installing your Projector in the Ceiling
6
SCREEN SIZE
DISTANCE
Distance
1.16m
1.35m
1.51m
1.81m
2.15m
Screen Size
37 inch
45 inch
50 inch
60 inch
72 inch
• Move the projector as close to the center of
the screen as possible.
• The light beam from the projector should be
perpendicular to the screen for a rectangular
or square image.
When installing the projector in the ceiling, please purchase a projector mount
recommended by an installation professional and follow the instructions that
come with the mount.
Before installing the projector in the ceiling, please check to make sure the
ceiling structure can support the weight of the projector and the mount. If in
doubt, please ask the advice from an installation professorial.
NOTE: Projector mount and screw(s) not included
Adjust The V
Follow below picture to adjust the vertical location.
Adjust The Focus And Keystone
7
SCREEN
PROJECTOR
VERTICAL
DIMENSION
VERTICAL
DIMENSION
SCREEN
PROJECTOR
VERTICAL
DIMENSION
SCREEN
PROJECTOR
AV
HDMI USB VGA
TF
KEYSTONE ADJ. KNOB
FOCUS ADJ. KNOB
Then sharpen the image
by rotating focus knob.
Follow below picture to adjust the focus and trapezoidal screen.
Adjust the focus by turning the knob while observing the image pixels near the
center of the screen. Optimal focus is obtained when the pixels are clearly
visible. Depending on the projected screen size, the focus near the screen
edges may be less sharp than the screen center.
Keystone image is created when the projector lens is projected from above or
below the center of the screen. Keystone correction restores the distorted
image to a rectangular or square shape.
Controls Of Remote
Install / Re Of Remote
NOTES:
8
BATTERY DOOR
Remove the battery compartment cover on the back of your remote by carefully
sliding to open. The battery cover can then be lifted away. Fit the correct
batteries (not included), referring to the polarity markings. Finally, replace the
cover.
• Batteries shall not be exposed to
excessive heat such as placing under
the sunlight or near a fire.
• Please make sure the batteries are
installed with their correct polarities.
• Do not mix old and new batteries.
• Use only the same type of batteries.
• Do not dispose of the batteries in fire,
battery may explode or leak.
• Do not recharge a non-rechargeable
battery
OK
2
ABC1/
@
3
DEF
4
GHI
5
JKL
6
MNO
7
PQR S
8
TUV
9
WXY Z
0
F
LIP
MEN U
EXIT
FAV/
RECALL
OK
EXIT
OK
1. LENS
2. ANGEL ADJ. Knob
3. VGA IN Port
4. IR Sensor
5. FOCUS ADJ. Knob
6. TRAPEZOIDAL ADJ. Knob
7.
s
8.
9. POWER Indicator
10.
Controls Of Projector
11. R
12. s
13. M
14. S
15. EAR PHONE Jack
16. AV IN Jack
17. TF Card Slot
18. HDMI 1 & 2 Ports
19. USB Port
20. DC IN Jack
9
1
2
VGA
IR
3
4
HDMI 2
H
DMI 1
USB
AV
15
16
17 18
19
20
OK
5
6
7
8
9
10
11
12
13
14
OK
Install Power Adapter
Follow below picture to connect power adapter
Connect small end of adapter FIRST. Plug the adapter body to power outlet.
on
- Press the button to turn on unit, press again to turn off.
/ SOURCE - Press the button to select input source.
/ MENU - Press the button to enter projector menu.
- Press the buttons to navigate and select screen item of menu.
/ EXIT - Press the button to return to previous status or exit the menu.
- Press the buttons to fast search forward and rewind on USB / TF.
- Press the buttons to search next or previous file on USB / TF.
VOL+ / VOL - Press the buttons to select the sound level.
- Press the button to play/pause the playback of file on USB / TF card.
FLIP - Press the button to rotate / mirror projector screen
ZOOM - Press the button to select image scale.
- Press to mute the audio. Press again to resume.
10
WARNING:
Before connecting to the power supply, ensure that
the supply corresponds to the information on the
rating label at the back of the apparatus.
OK
OK
AV
TF CARD
HDMI 1
HDMI 2
DC IN
USB
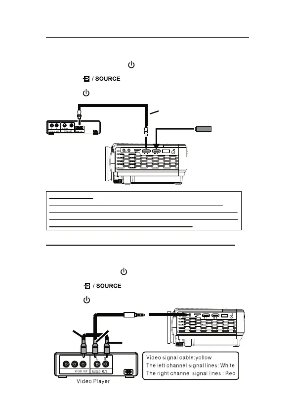
Refer to the following picture to connect a set top box, a BD/DVD player or a
streaming player to the HDMI input.
1. Turn off the unit before connect HDMI cable.
2. After connection, press the button to turn on unit and power indicator
will light GREEN
3. Press the button to select HDMI 1 or HDMI 2 and the
video from the connected device will be shown on projector screen.
4. Press the button to turn off unit power.
Follow below picture to connect AV cable and device.
1. Turn off the unit before connect AV cable.
2. Use AV cable to connect follow below figure
3. After connect, press the button to turn on unit and power indicator will
light GREEN
4. Press the button to select AV mode and the video of AV
device will show on projector screen
5. Press the button to turn off unit power
Important Note:
If there is no sound from the internal speakers when playing media
contents from a set top box, BD/DVD or streaming players connecting to
the HDMI input, please check the set top box or the player's digital audio
settings and make sure it is set to "PCM Stereo" mode.
Connect HDMI
Show The Image On Projector Screen
Connect AV
Show The Image On Projector Screen
11
VIDEO CABLE
LEFT CHANNEL
RIGHT CHANNEL
AV
T
F CARD
H
DMI 1 HDM I 2
DC I
N
USB
HDMI CABLE
CABLE NOT INCLUDED
Video Player
AV
T
F CARD
H
DMI 1 HDMI 2
DC I
N
USB
HDMI Stre aming player (n ot included)
MODEL NO.
RPJ107-BLACK
Home Theater Projector with Bluetooth
PLEASE READ BEFORE OPERATING THIS EQUIPMENT
This product is manufactured and sold by Curtis International Ltd.
RCA, the RCA logo, the two dogs (Nipper and Chipper) logo, are registered
trademarks or trademarks of RCA Trademark Management and are used
under license by Curtis International Ltd. Any other product, service,
company, trade or product name and logo referenced herein are neither
endorsed nor sponsored by RCA Trademark Management or its affiliates.
Ideal for dark viewing environments for optimal performance.
Please note:Projector brightness is measured in ANSI lumens.
Your viewing environment is the deciding factor on how many lumens
your projector needs.