EasyManua.ls Logo

RCA VR617HF - Cable System with Cable Box

RCA VR617HF
44 pages
Print Icon
To Next Page IconTo Next Page
To Next Page IconTo Next Page
To Previous Page IconTo Previous Page
To Previous Page IconTo Previous Page
Loading...
4
Hooking Up the VCR
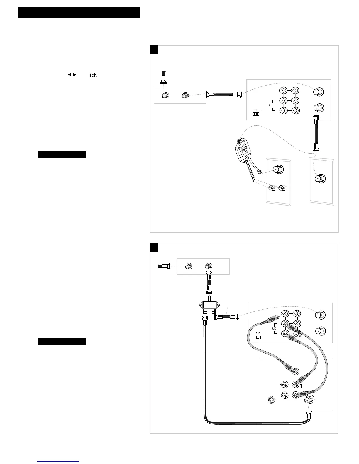
Cable System With Cable Box to Unscramble All Channels
OUT TO
TV
IN FROM
ANT.
CH
3
56
4
AUDIO
VIDEO
IN
OUT
R
L
Back of VCR
OUTIN
Cable Box
From Cable
RF Coaxial
Cable
Back of TV
Cable/
Antenna
OR
VHF
UHF
RF Coaxial Cable
(supplied)
75 to 75/300 Ohm
Separator
OUT TO
TV
IN FROM
ANT.
CH
3
56
4
AUDIO
VIDEO
IN
OUT
R
L
Back of VCR
S-VIDEO
AUDIO
CABLE /
ANTENNA
L /
MONO
RIGHT
VIDEO
INPUT
INOUT
Back of TV
Audio/Video Cables
OUTIN
Cable Box
From Cable
RF Coaxial
Cable
RF Coaxial Cable
(supplied)
Signal
Splitter
RF Coaxial
Cable
A. Basic hookup.
Use this hookup for a simple connection
which requires fewer accessories.
1. Set the CH 3
55
66
4 switch on back of VCR
to either channel 3 or 4.
You will tune the TV to this channel and use the
TV•VCR button to watch the VCR.
2. Connect as shown.
This connection may require additional
accessories not provided.
3. Plug in power cords of VCR, TV, and
cable box.
4.
B. Advanced hookup.
Use this hookup for slightly improved
picture quality and more convenient
operation — use of TV•VCR button not
required.
1. Connect as shown.
This connection requires additional accessories
not provided.
If your TV is not stereo, you may need a
Y-adapter to hear sound from both channels.
2. Plug in power cords of VCR, TV, and
cable box.
3.
You will tune the TV to its video input to
watch the VCR.
Continue to page 7.
Continue to page 7.
A
B

Table of Contents

Related product manuals