EasyManua.ls Logo

RED COMPACT 18 - Page 37

RED COMPACT 18
76 pages
Print Icon
To Next Page IconTo Next Page
To Next Page IconTo Next Page
To Previous Page IconTo Previous Page
To Previous Page IconTo Previous Page
Loading...
35
I
11-FIRST START-UP
Technical Dept. - All rights reserved - Reproduction is prohibited
The boiler will be subject to expansion and contraction during the stages of lighting and cooling down, and may therefore make slight
creaking noises.
This is absolutely normal as the structure is made of laminated steel and must not be considered a defect.
It is extremely important to make sure the boiler does not reach high temperatures straight away, but to increase the temperature
gradually using low power at rst.
DO NOT EXPECT HEATING EFFICIENCY IMMEDIATELY!!!
ATTENTION!
If during operation or initial ignition you encounter smoke spillage in to the room from the appliance
or the ue then please switch o the appliance, ventilate the room and contact the installation / service
engineer immediately.
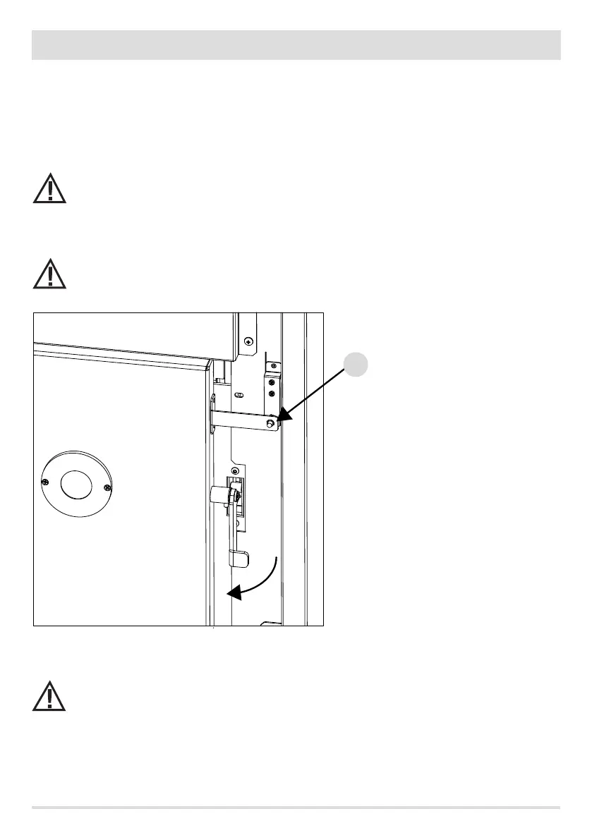
OPENING/CLOSING THE INTERNAL DOOR
CAUTION!
The door must be closed properly for the boiler to work correctly.
To open the internal door, lift and pull the handle towards yourself. In the event one needs to open the door with the boiler in operation,
one must use suitable thermal protection clothing (for example leather gloves).
Switch “I” interrupts the operation of the compressor cleaning system when the door is opened.
INNER DOOR OPENING.

Other manuals for RED COMPACT 18

Related product manuals