EasyManua.ls Logo

Regal SMARTVALVES - Page 29

Default Icon
36 pages
Print Icon
To Next Page IconTo Next Page
To Next Page IconTo Next Page
To Previous Page IconTo Previous Page
To Previous Page IconTo Previous Page
Loading...
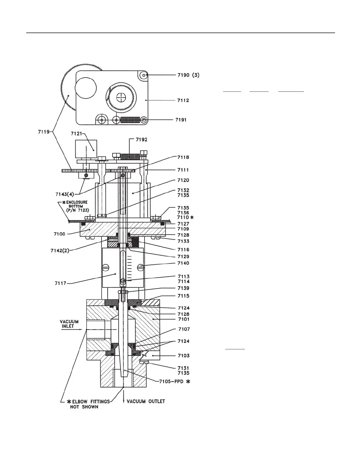
DRAWING NO. 12 CONTROL VALVE ASSEMBLY
for 10 to 500 PPD (Part Number 7003)
Part No. Quantity Description
7100 1 Yoke
7101 1 Top Body
7103 1 Bottom Body
7105
*
1 Valve Plug (PPD)
7107 1 Valve Seat
7109 1 Lead Screw
7110
*
1 Nut Plate (not shown)
7111 3 Standoff
7112 1 Mounting Plate
7113 1 Indicator Screw
7114 1 Indicator Nut
7115 1 Guide/Retainer
7116 1 Knob/Knurled
7117 1 Indicator Plate
7118 1 Driver Gear
7119 1 Follower Gear
7120 1 Stepper Motor
7121 1 Potentiometer
7124 3 S-405 “0” Ring
7127 1 S-414 “0” Ring
7128 2 Seal
7129 1 Seal
7131 4 Screw-#10-24 X 2 1/2
7132 1 Screw-#10-24 X 1/2
7133 4 Screw-#10-32 X 1
with “O” Ring
7135 5 #10 Lock Washer
7136 3 #10-32 Nut
7139 1 #8-32 Nut
7140 2 Screw-#6-32 X 1/4
7142 2 #6-32 Set Screw X 3/8
7143 4 #6-32 Set Screw X 1/4
7190 3 Shoulder Screw
7191 1 Cap Screw
7192 1 Spring
-
*
2 Elbow Fitting (PPD)
ZZ-275 3/8 OD Tube (10-100 PPD)
ZZ-276 1/2 OD Tube (250 PPD)
ZZ-277 5/8 OD Tube (500 PPD)
*NOTES:
1. P/N 7105 valve plug
7105 - 1 for (10 & 25 PPD)
7105 - 3 for (50 &100 PPD)
7105 - 5 for (250 & 500 PPD)
2. P/N 7110 not shown.
1/8 x 7/16 x 2 1/4
3. Partial View of the mounting section
of the bottom enclosure (P/N 7123).
Not part of this assembly.
29

Related product manuals