EasyManua.ls Logo

Reliable 2100IR - Données Techniques

Reliable 2100IR
24 pages
Print Icon
To Next Page IconTo Next Page
To Next Page IconTo Next Page
To Previous Page IconTo Previous Page
To Previous Page IconTo Previous Page
Loading...
11
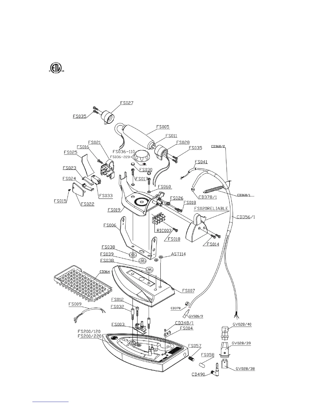
DONNÉES TECHNIQUES :
Élément chauffant : 800W – 120V-220V
Thermostat ajustable : Réglé à 60°C – 215°C
Fusible thermique de sécurité : Réglé à 275°C
DESSIN DES PIÈCES DU 2100IR ET 2200IR

Related product manuals