EasyManua.ls Logo

Renogy ROVER 30A - Page 49

Renogy ROVER 30A
64 pages
Print Icon
To Next Page IconTo Next Page
To Next Page IconTo Next Page
To Previous Page IconTo Previous Page
To Previous Page IconTo Previous Page
Loading...
46
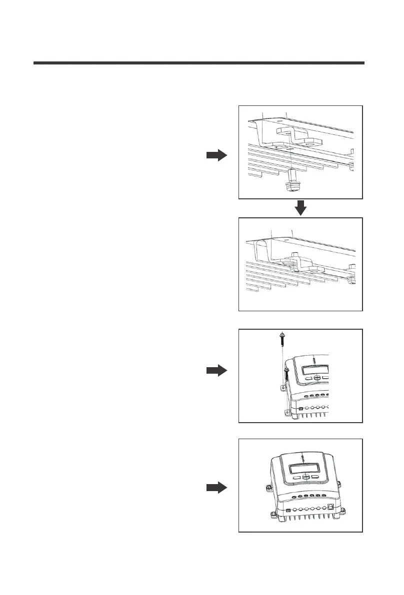
Richten Sie die Montagehalterungen an der
gewünschten Oberfläche aus und bohren Sie
mit den entsprechenden Schrauben in die
Oberfläche. Schrauben nicht im
Lieferumfang enthalten
Schritt 2,
Die Überprüfung der Montage ist sicher
Schritt 3,
Installieren Sie die Halterungen mit den
mitgelieferten Komponenten
Halterung benutzen
Schritt 1,

Related product manuals