EasyManua.ls Logo

Resource ALTEA Work 90 - Desk Installation (Continued); Aligning and Connecting Desk

Resource ALTEA Work 90
31 pages
Print Icon
To Next Page IconTo Next Page
To Next Page IconTo Next Page
To Previous Page IconTo Previous Page
To Previous Page IconTo Previous Page
Loading...
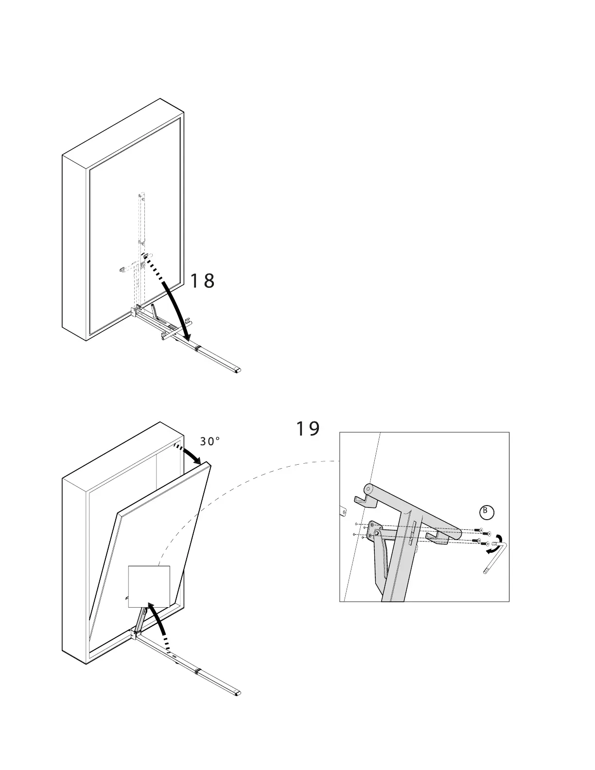
DESK INSTALLATION
17

Related product manuals