EasyManua.ls Logo

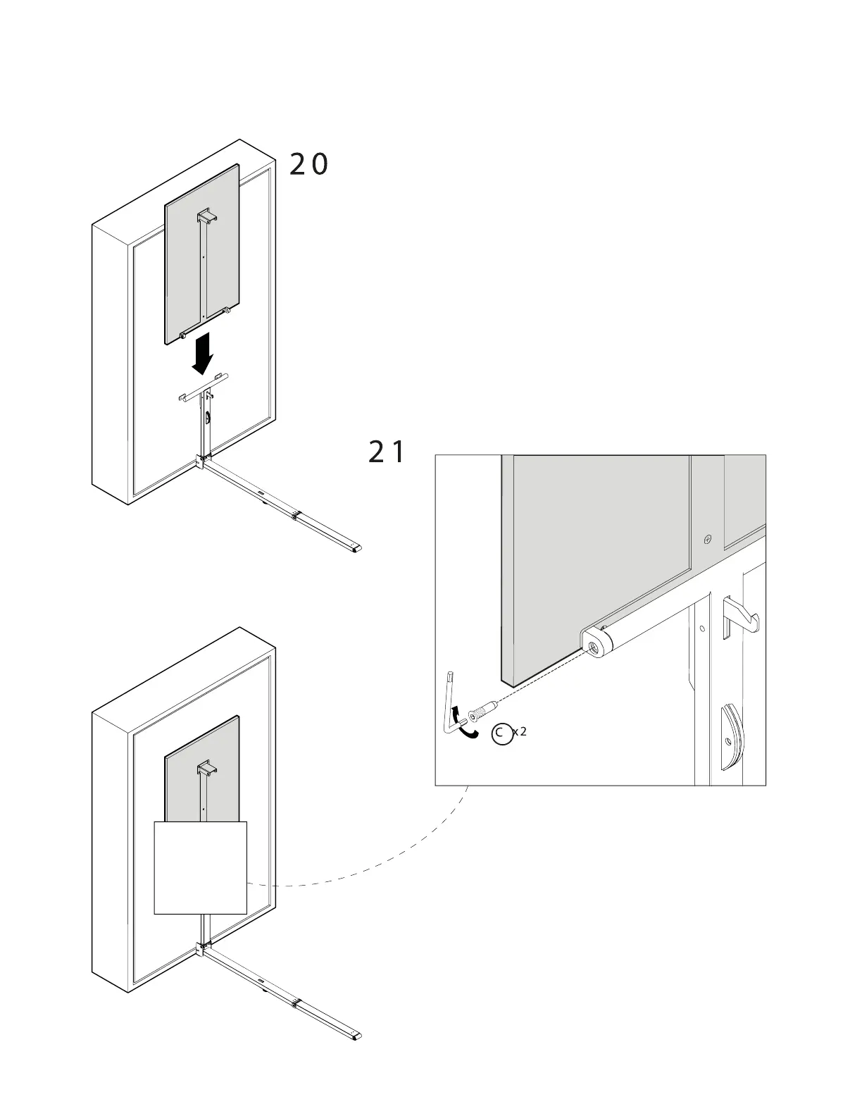
Resource ALTEA Work 90 - Desk Installation (Continued); Securing Desk Mechanism

Resource ALTEA Work 90
31 pages
Print Icon
To Next Page IconTo Next Page
To Next Page IconTo Next Page
To Previous Page IconTo Previous Page
To Previous Page IconTo Previous Page
Loading...
DESK INSTALLATION
18

Related product manuals