EasyManua.ls Logo

RIB KS2 24V - Page 6

RIB KS2 24V
Print Icon
To Next Page IconTo Next Page
To Next Page IconTo Next Page
To Previous Page IconTo Previous Page
To Previous Page IconTo Previous Page
Loading...
6
6
II
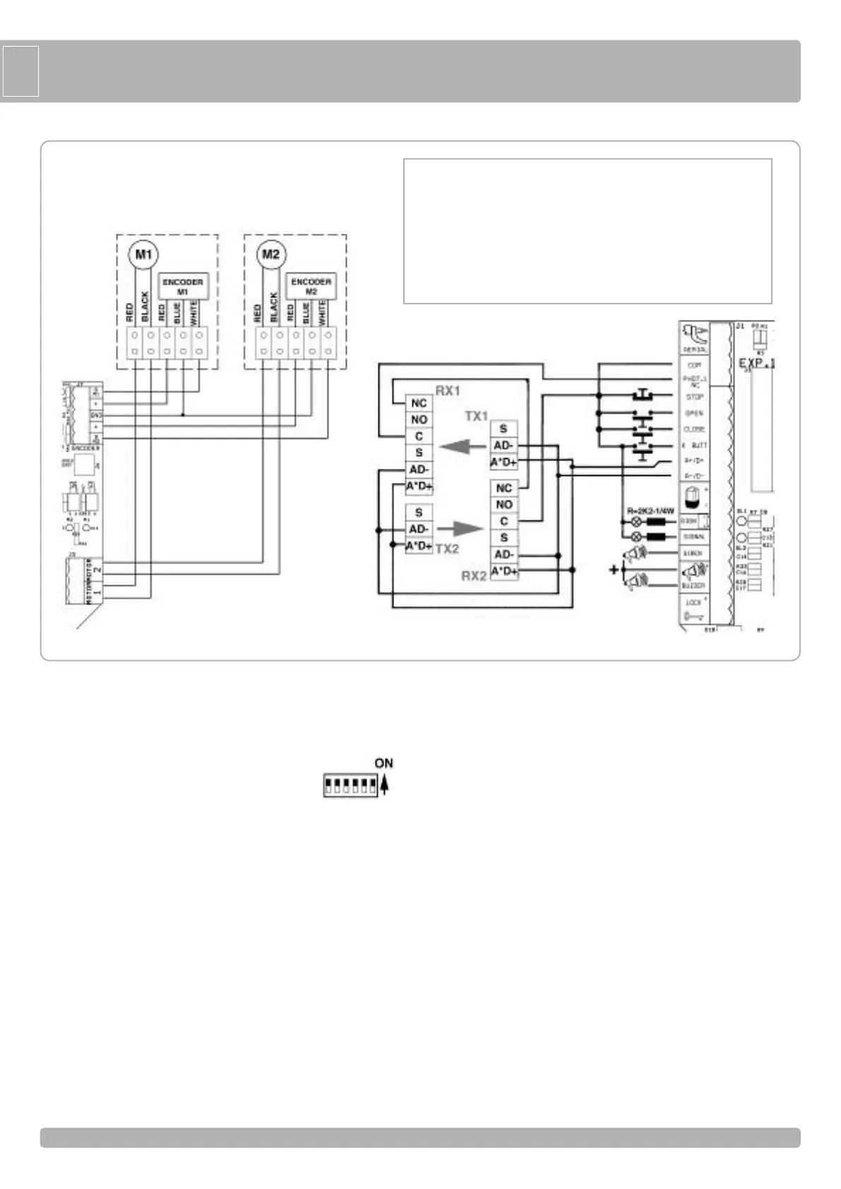
RX1-TX1 = FOTOCELLULE ESTERNE
RX2-TX2 = FOTOCELLULE INTERNE
RED => Rosso
BLACK => Nero
BLUE => Blu
WHITE => Bianco
Dove:
=>
WHITE-RED-BLUE sono i morsetti del connettore in cui deve
essere collegato un lato di ognuno dei tre fili (non collegare la
schermatura)
=> S, +, GND sono i morsetti del quadro elettronico in cui deve essere
c
ollegato l'altro lato di ognuno dei tre fili. La schermatura deve
essere collegata insieme con il filo inserito nel morsetto di terra
(non GND).
B - SETTAGGI
DIP 1 CONTROLLO SENSO DI ROTAZIONE DEL
MOTORE (ON) (PUNTO C)
DIP 2 PROGRAMMAZIONE TEMPI (ON) (PUNTO D)
MICROINTERRUTTORI DI GESTIONE
DIP 3
Tempo di attesa prima della chiusura automatica (ON)
DIP
4
Ricevitore radio passo passo (OFF) - automatico (ON)
DIP
5
Comando impulso singolo (K BUTT) passo passo (OFF) -
automatico (ON)
DIP
6
Fotocellule sempre attive (OFF) - Fotocellule attive solo in
chiusura (ON)
DIP 7 Encoder (ON-attivato) - sensore di corrente (OFF-attivato)
ATTENZIONE: Nel caso si utilizzi il sensore di corrente (OFF-
attivato) si consiglia l’adozione di
un’elettroserratura sull’anta.
DIP
8
Prelampeggio (ON) - Lampeggio normale (OFF)
DIP 9 Tempo di attesa prima della chiusura automatica pedonale (ON)
DIP 10 Abilitazione colpo di sgancio serratura elettrica (ON-attivata)
DIP
1
1
Abilitazione serratura elettrica (ON-attivato)
DIP 12 Selezione tipo di motoriduttore utilizzato - PRINCE (ON)
S1 Pulsante per la programmazione PROG.
LS - LOW SPEED - REGOLATORE ELETTRONICO DELLA
VELOCITÀ LENTA
La regolazione della velocità lenta viene eseguita agendo sul Trimmer
LOW SPEED tramite il quale si varia la tensione di uscita ai capi del/dei
motore/i (ruotando in senso orario si aumenta la velocità). La
regolazione viene eseguita per determinare la corretta velocità di fine
apertura e fine chiusura in base alla struttura del cancello o in presenza
di leggeri attriti che potrebbero compromettere il corretto funzionamento
del sistema.
SEGNALAZIONI LED
DL1 contatto fotocellule (NC)
DL2 contatto di stop (NC)
DL3 controllo intervento sensore di corrente M2
DL4 controllo intervento sensore di corrente M1
DL5 controllo funzionamento Encoder M2
DL6
controllo funzionamento Encoder M1
DL7
programmazione attivata
DL8 cancello in apertura M1 (verde)
DL9
cancello in chiusura M1 (rosso)
DL10 cancello in chiusura M2 (rosso)
DL11 cancello in apertura M2 (verde)

Related product manuals