EasyManua.ls Logo

ricoo S0722 - Page 9

ricoo S0722
Print Icon
To Next Page IconTo Next Page
To Next Page IconTo Next Page
To Previous Page IconTo Previous Page
To Previous Page IconTo Previous Page
Loading...
9
English
Deutsch
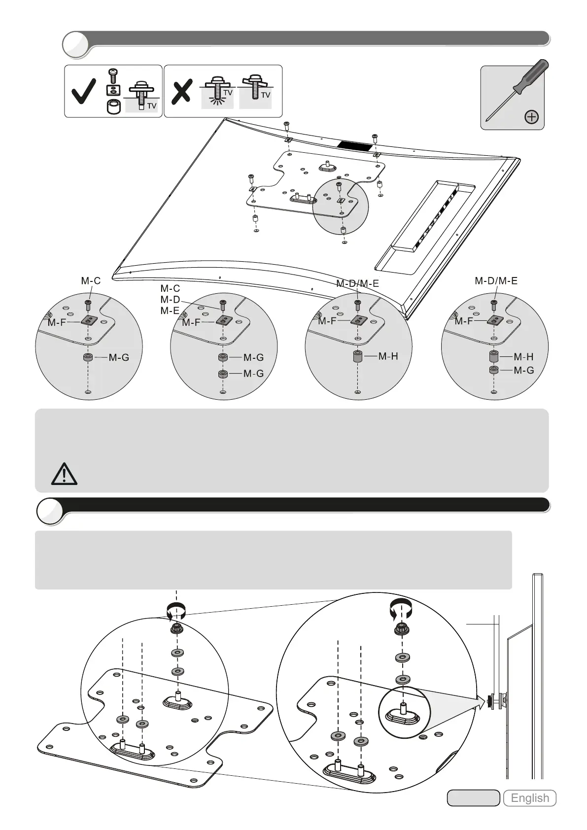
Ziehen Sie alle Schrauben nach. ACHTUNG: Nicht überziehen!
Beachten: Wählen Sie die zu Ihrem TV passenden Schrauben, Unterlegscheiben und falls erforderlich die
Abstandshalter.
· Montieren Sie die Montageschienen so nah wie möglich zur Mitte des TV-Gerätes.
· Fixieren Sie die Montageschienen mit Hilfe von den dazugehörigen Schrauben.
oder oder oder
5mm
Zwei Plastikscheiben sowie eine Schraubenmutter, welche
im Schritt 1 entfernt wurden, an die obere Schraube der Frontplatte montieren, jedoch nicht festziehen. Zwischen
den beiden Plastikscheiben sollten ca. 5mm Abstand bleiben.
Und die beiden unteren Schrauben mit jeweils einer Plastikscheibe (aus dem Schritt 1) versehen.
b
Für Bildschirme mit gewölbter Rückseite
6

Related product manuals