EasyManua.ls Logo

robatherm TI-50 - Page 14

Default Icon
92 pages
Print Icon
To Next Page IconTo Next Page
To Next Page IconTo Next Page
To Previous Page IconTo Previous Page
To Previous Page IconTo Previous Page
Loading...
Installation site requirements
14 © robatherm
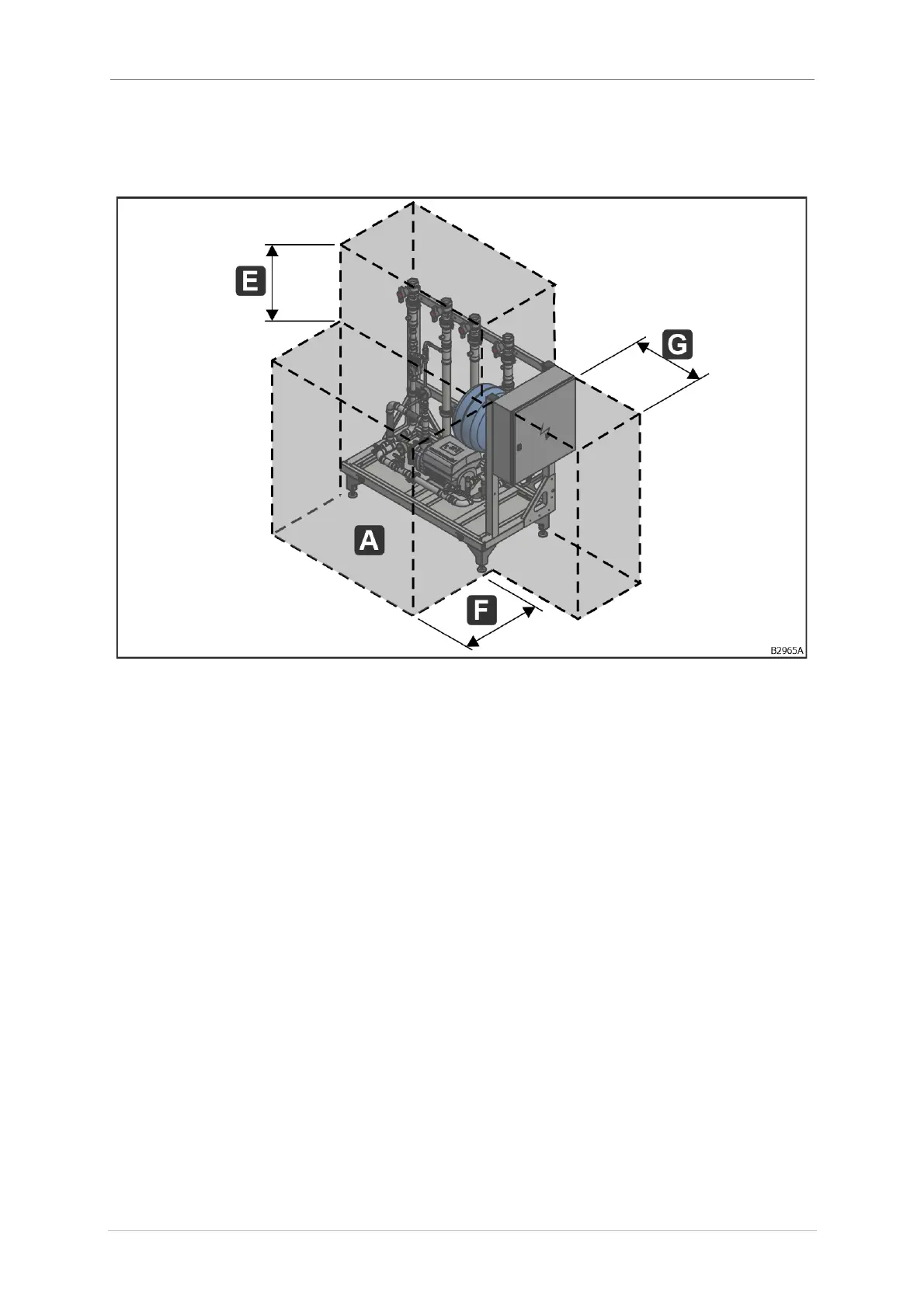
HE-RAC hydraulics on stand
The HE-RAC hydraulics on stand has the following footprint requirements:
Fig. 3: Footprint requirements of HE-RAC hydraulics on stand
A - revision area; E 350 mm; F 500 mm; G - 650 mm
• Leave 350 mm (E) above the rack for the connections.
• Leave 500 mm (F) free as a revision area (A) on the operating side and 650 mm (G) in
front of the control cabinet.

Related product manuals