EasyManua.ls Logo

Robin RGX305 - Panelb

Robin RGX305
75 pages
Print Icon
To Next Page IconTo Next Page
To Next Page IconTo Next Page
To Previous Page IconTo Previous Page
To Previous Page IconTo Previous Page
Loading...
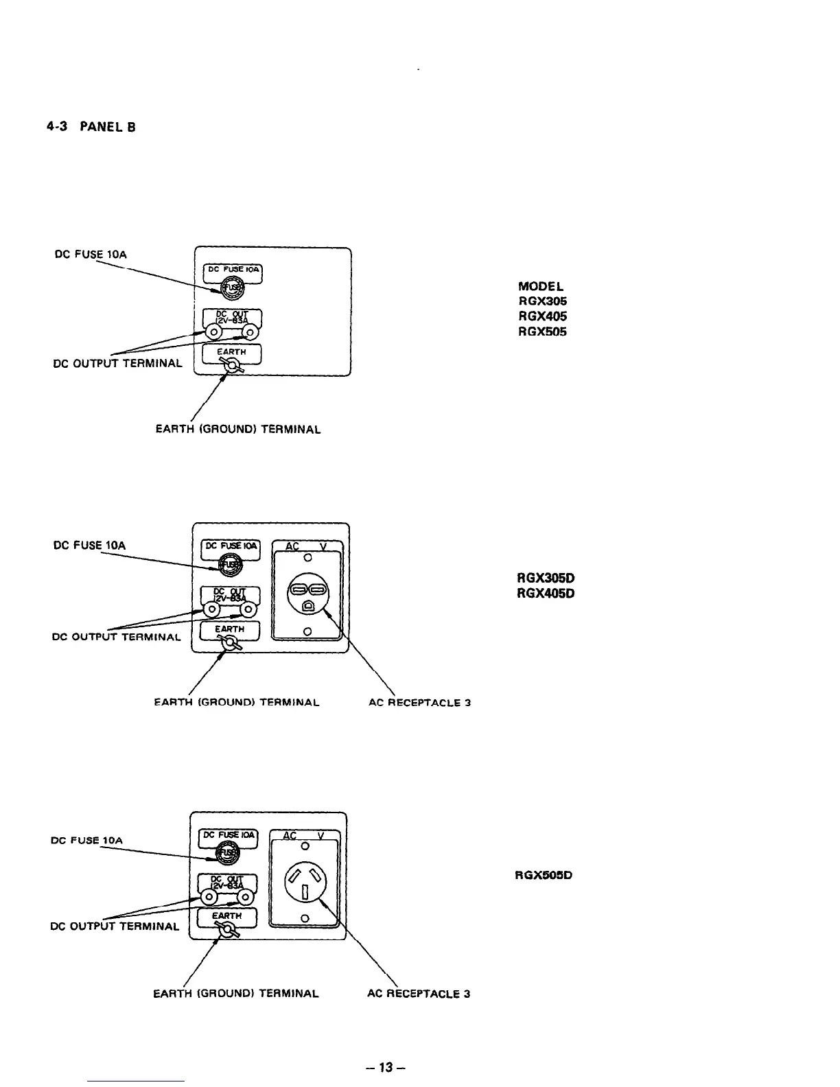
4-3 PANEL B
DC FUS
DC OUTPUT TERMINAL
J
DC
EARTH (GROUND) TERMINAL
FUSE IOA
EARTH (GROUND) TERMINAL
AC RECEPTACLE 3
MODEL
RGX305
RGX405
RGX505
RGX305D
RGX405D
RGX505D
EAR-iH (GROUND) TERMINAL AC R‘ECEPTACLE 3
- 13-

Related product manuals