EasyManua.ls Logo

Robinson R44 - Page 94

Robinson R44
222 pages
Print Icon
To Next Page IconTo Next Page
To Next Page IconTo Next Page
To Previous Page IconTo Previous Page
To Previous Page IconTo Previous Page
Loading...
ROBINSON
MODEL R44
SECTION 7
SYSTEMS DESCRIPTION
REVISED: 21 FEB 2014 7-12
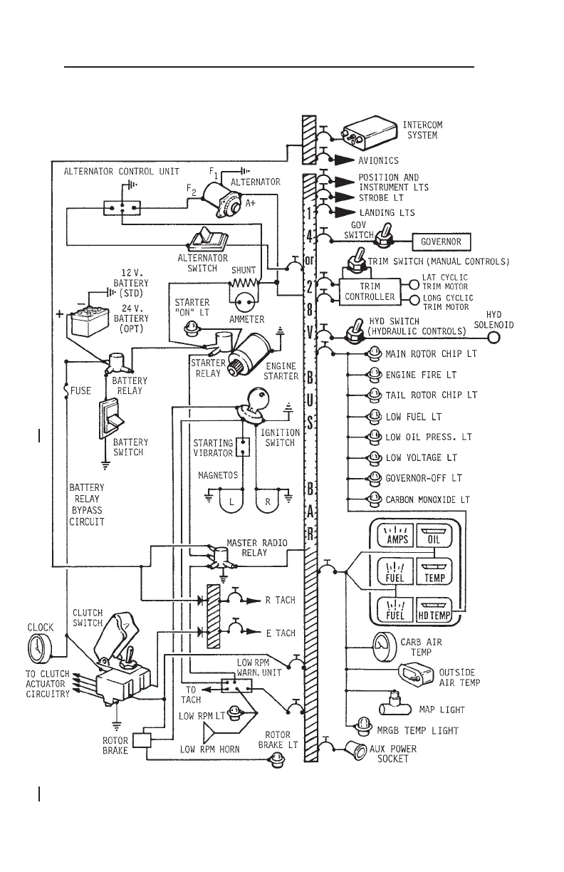
ELECTRICAL SYSTEM (EARLIER AIRCRAFT)
ELECTRICAL SYSTEM (cont’d)

Table of Contents

Related product manuals