EasyManua.ls Logo

roco 35900 - Page 6

roco 35900
12 pages
Print Icon
To Next Page IconTo Next Page
To Next Page IconTo Next Page
To Previous Page IconTo Previous Page
To Previous Page IconTo Previous Page
Loading...
6
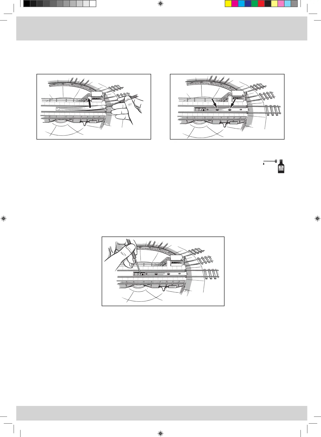
Ausbau der Bühne
Läuft die Drehbühne auch nach Betätigung des Handhebels nicht an, muss sie ausgebaut werden. Hierzu die Abdeckung (siehe Fig.-13) abnehmen und den
Sicherungsring am Drehzapfen entfernen. Vorsicht: Sicherungsring nicht verlieren! Auf jeder Seite der Drehscheibe werden mindestens 4 gegenüberliegende
Teilstücke entfernt (siehe Bild 10). Jetzt kann die Bühne in diesen Ausschnitt gedreht und herausgehoben werden. Die Kontaktbahnen neben den Drehzapfen
und die Kontaktfedern sind zu reinigen. Der Einbau der Bühne erfolgt in umgekehrter Reihenfolge.
Gegebenenfalls ist bei schadhaften Teilen die Drehbühne mit Schalter 6910 an die Kundendienstabteilung einzusenden.
Änderungen, Liefermöglichkeiten und alle Rechte vorbehalten. Daten, Maßangaben und Abbildungen ohne Gewähr.
Um die Lager des Antriebsmotors zu ölen, muss die Abdeckung zwischen
den beiden Schienenprofilen auf der Drehbühne entfernt werden.
Durch
die vorgesehenen Löcher ist je 1 Tropfen Öl an die durch
Pfeile gekennzeichneten Lagerstellen zu geben.Vorsicht, nicht
überölen!
Nur FLEISCHMANN-Öl 6599 verwenden. Zur Do-
sierung die in der Verschlusskappe der Ölflasche
angebrachte Nadel verwenden.
Ölen des Motors
Fig. 13 Fig. 14
Fig. 15
8035900920.indd 6 19.12.2008 12:37:58

Related product manuals