EasyManua.ls Logo

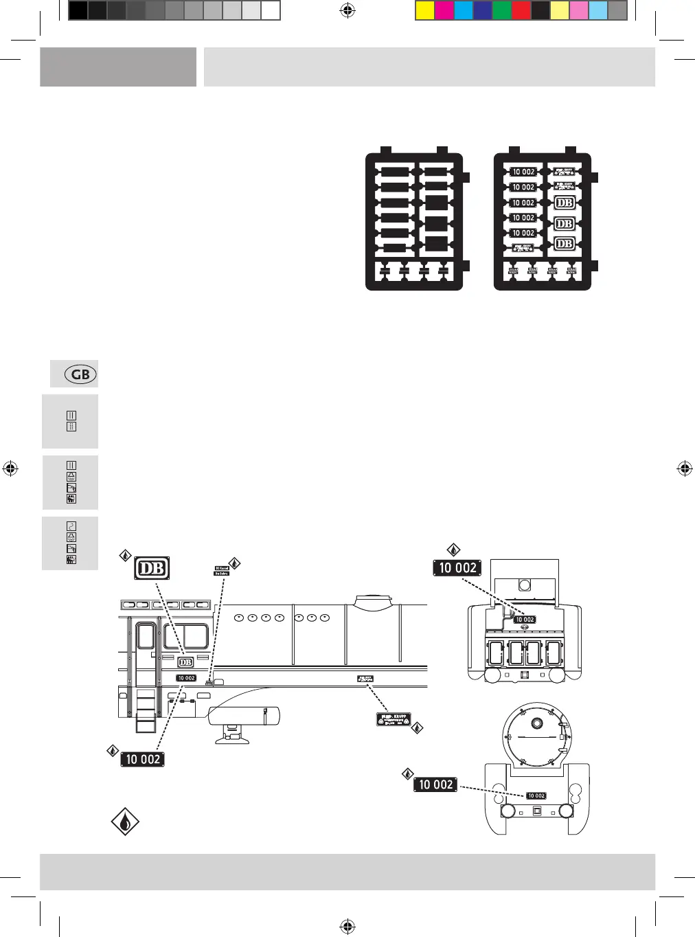
roco BR 10 002 - Applying Decorative Labels

roco BR 10 002
Print Icon
To Next Page IconTo Next Page
To Next Page IconTo Next Page
To Previous Page IconTo Previous Page
To Previous Page IconTo Previous Page
Loading...
24
24
62193
68193
62192




 
       


   

 

 

 

 

 
 



24
8062192920.indd 24 23.04.2012 08:12:15

Table of Contents

Related product manuals