EasyManua.ls Logo

RODEX RDX855 - Page 12

RODEX RDX855
Print Icon
To Next Page IconTo Next Page
To Next Page IconTo Next Page
To Previous Page IconTo Previous Page
To Previous Page IconTo Previous Page
Loading...
12


















НЕ ПРИКАСАТЬСЯ







.

















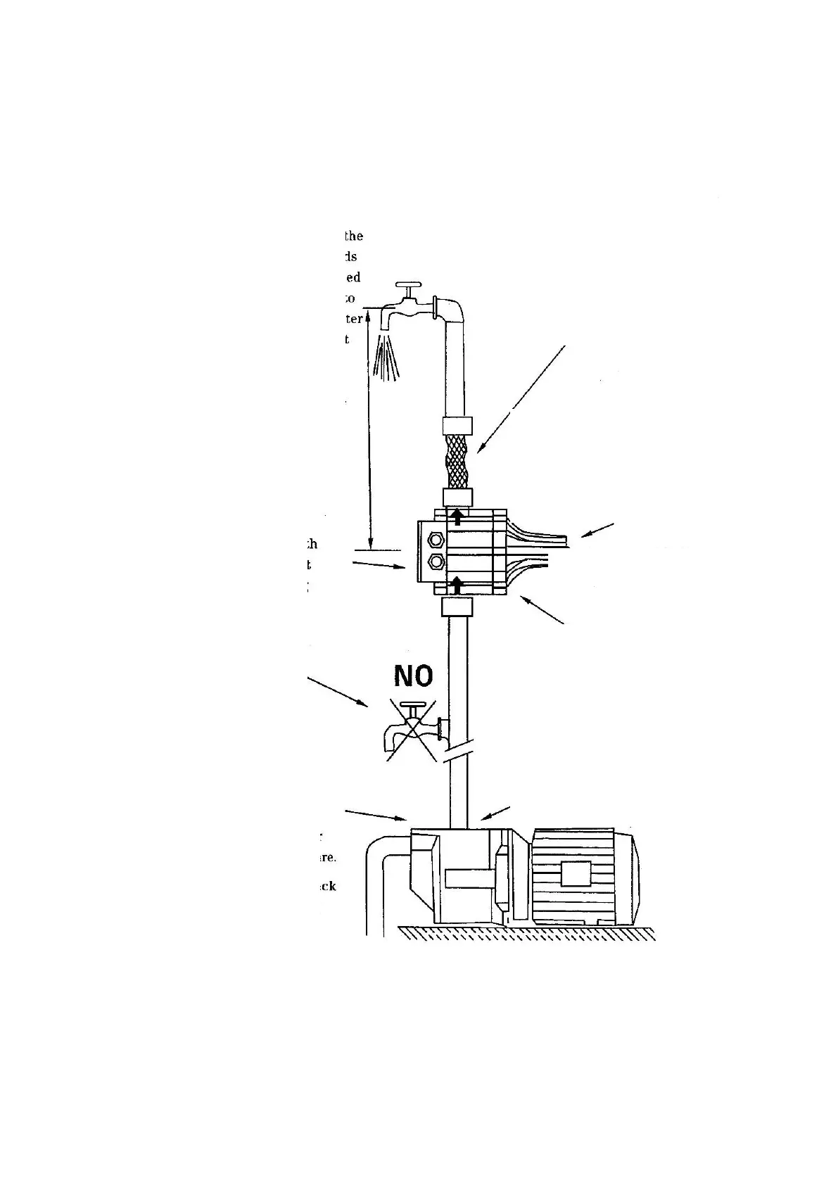
УКАЗАНИЯ ДЛЯ ПРАВИЛЬНОГО ИСПОЛЬЗОВАНИЯ И
МОНТАЖА