EasyManua.ls Logo

RODEX RDX855 - Page 33

RODEX RDX855
Print Icon
To Next Page IconTo Next Page
To Next Page IconTo Next Page
To Previous Page IconTo Previous Page
To Previous Page IconTo Previous Page
Loading...
33
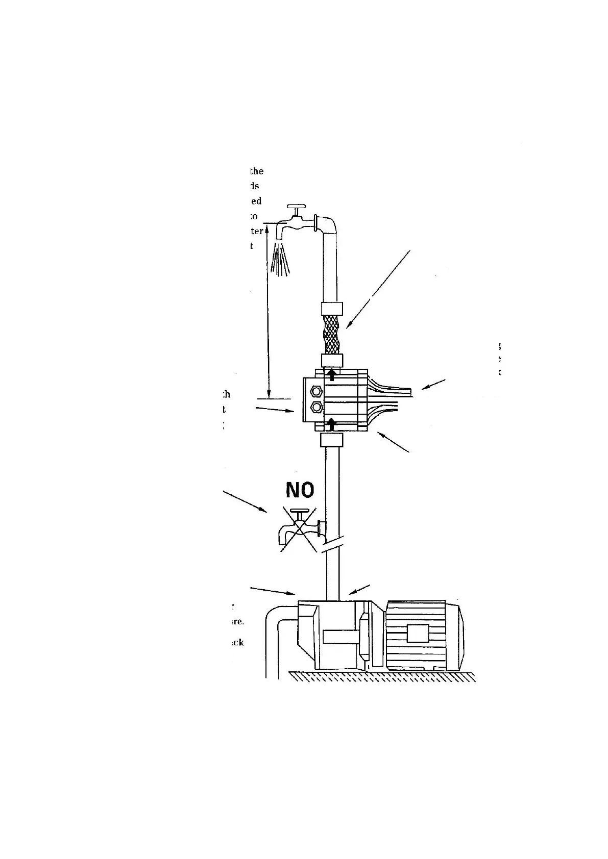
Si la colonne d'eau entre la
pompe et le robinet le plus haut




d'eau entre l'appareil et le robinet

C'est--dire, si la colonne d'eau
est de 20 m. de la pompe,

plus haut que la pompe.

communiquer la sortie


tuyau flexible.


d'eau en cas de rupture
de diaphragme.
NE PAS TOUCHER

l'appareil avec les

vers le haut.
L'
directement sur la pompe, ou
entre la pompe et le premier
robinet.
PRESSION DE LA POMPE



La pression produite par la

normalement de 0,5 bar


par le fabricant.
r l'appareil,




clapet anti-retour pour
garder le pipeline contre la
perte de pression.
Aucun robinets peuvent

pompe et l'appareil.
INSTRUCTIONS POUR INSTALLER LES UNITÉS CORRECTEMENT