EasyManua.ls Logo

Ryobi P200 - Drilling Procedures

Ryobi P200
20 pages
Print Icon
To Next Page IconTo Next Page
To Next Page IconTo Next Page
To Previous Page IconTo Previous Page
To Previous Page IconTo Previous Page
Loading...
16 17
OPERATION
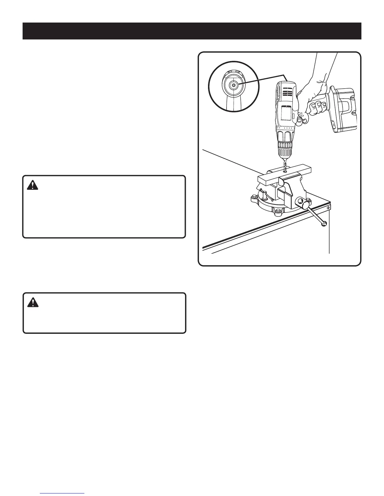
Fig. 14
DRILLING
See Figure 14.
When drilling hard, smooth surfaces, use a center punch
to mark the desired hole location. This will prevent the drill
bit from slipping off center as the hole is started. However,
the lower speed feature allows starting holes without center
punching if desired. To accomplish this, simply operate the
drill at lower speed until the hole is started.
The material to be drilled should be secured in a vise or with
clamps to keep it from turning as the drill bit rotates.
Hold tool firmly and place the bit at the point to be drilled.
Depress the switch trigger to start tool.
Move the drill bit into the workpiece, applying only enough
pressure to keep the bit cutting. Do not force or apply side
pressure to elongate a hole.
WARNING:
Be prepared for binding at bit breakthrough. When these
situations occur, the drill has a tendency to grab and kick
opposite to the direction of rotation, and could cause
loss of control when breaking through material. If you are
not prepared, this loss of control can result in possible
serious injury.
When drilling metals, use a light oil on the drill bit to keep it
from overheating. The oil will prolong the life of the bit and
increase the drilling action.
If the bit jams in workpiece or if the drill stalls, release switch
trigger immediately. Remove the bit from the workpiece and
determine the reason for jamming.
WARNING:
Do not force tool. Forcing tool can result in jamming and
loss of balance or footing, which could result in personal
injury.
20
15
LEVEL
END VIEW

Related product manuals