EasyManua.ls Logo

Ryobi P2502 - Work Area Precautions; Felling Trees and Hazardous Conditions

Ryobi P2502
92 pages
Print Icon
To Next Page IconTo Next Page
To Next Page IconTo Next Page
To Previous Page IconTo Previous Page
To Previous Page IconTo Previous Page
Loading...
18 - English
WORK AREA PRECAUTIONS
Cut only wood or materials made from wood,
no sheet metal, no plastics, no masonry, no
non-wood building materials.
Never allow children to operate the saw. Allow
no person to use this chain saw who has not
read this Operator’s Manual or received ade-
quate instructions for the safe and proper use
of this chain saw.
Keep everyone - helpers, bystanders, children,
and animals - a safe distance from the cutting
area. During felling operations, the safe dis-
tance should be a least twice the height of the
largest trees in the felling area. During bucking
operations, keep a minimum distance of 15 feet
between workers.
Always cut with both feet on solid ground to
prevent being pulled off balance.
Do not cut above chest height, as a saw held
higher is difficult to control against kickback
forces.
Do not fell trees near electrical wires or build-
ings. Leave this operation for professionals.
Cut only when visibility and light are adequate
for you to see clearly.
FELLING TREES
See Figures 12 - 15.
HAZARDOUS CONDITIONS
WARNING:
Do not fell trees during periods of high wind or
heavy precipitation. Wait until the hazardous
weather has ended.
OPERATION
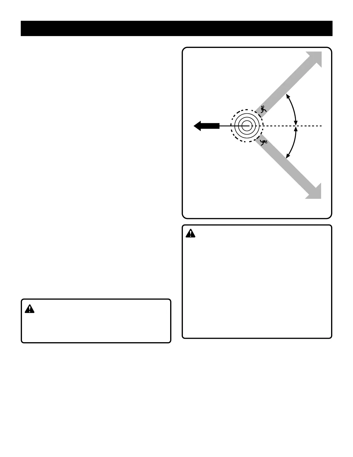
Fig. 12
45°
45°
PLANNED LINE
OF FALL
RETREAT PATH
RETREAT PATH
WARNING:
Closely check for broken or dead branches,
which could fall while cutting and do not cut
near buildings or electrical wires if you do not
know the direction of tree fall. Do not cut at
night or during bad weather conditions, such as
rain, snow, or strong winds, which can reduce
visibility and control of the chain saw. If the tree
you are felling makes contact with any utility
line, you should discontinue use of the chain
saw and immediately notify the utility company.
Failure to follow these instructions could result
in death or serious personal injury.
When felling a tree, it is very important that you
closely follow these warnings and instructions to
prevent possible death or serious personal injury.
Do not cut down trees having an extreme lean or
large trees with rotten limbs, loose bark, or hol-
low trunks. Have these trees pushed or dragged
down with heavy equipment, then cut them up.
Do not cut trees near electrical wires or buildings.
Check the tree for damaged or dead branches
that could fall and hit you during felling.

Related product manuals