EasyManua.ls Logo

Ryobi P2502 - Page 77

Ryobi P2502
92 pages
Print Icon
To Next Page IconTo Next Page
To Next Page IconTo Next Page
To Previous Page IconTo Previous Page
To Previous Page IconTo Previous Page
Loading...
19 - Español
ADVERTENCIA:
Controle con cuidado que no haya ramas rotas o
muertas que puedan caer mientras tala, y no tale
cerca de edificios o cables eléctricos si no sabe
en qué dirección caerá el árbol. No tale de noche
o con malas condiciones climáticas como lluvia,
nieve o fuertes vientos, porque tendrá menor
visibilidad y menor control de la motosierra. Si
el árbol que está talando cae sobre una línea de
transmisión de algún servicio, deje de usar la
motosierra y notifique de inmediato a la compañía
de servicios. No seguir estas instrucciones podría
causar la muerte o lesiones personales graves.
Al talar un árbol, es muy importante que siga
estrictamente estas advertencias e instrucciones para
evitar la muerte u otras lesiones personales serias.
No corte árboles extremadamente delgados ni
árboles grandes con ramas podridas, corteza
suelta o troncos huecos. Permita que expertos
derriben estos árboles con equipo pesado de
empuje o arrastre, y después recórtelos.
No corte árboles cerca de cables eléctricos o de
edificios.
Revise cada árbol para ver si tiene ramas muertas
que pudiesen caer y golpearlo al talar aquél.
FUNCIONAMIENTO
máxima cortando en vacío, puede ocurrir un
desgaste innecesario de la cadena, de la barra y
de la unidad.
No aplique presión en la sierra al final del corte.
PRECAUCIONES EN EL ÁREA DE
TRABAJO
Sólo corte madera o materiales hechos de
madera; no corte lámina metálica, plásticos, obras
de albañilería ni materiales de construcción que
no sean de madera.
Nunca permita utilizar la sierra a ningún niño. No
permita utilizar la sierra a ninguna persona que no
haya leído este manual del operador o no haya
recibido instrucciones adecuadas sobre la forma
correcta de emplear esta motosierra.
Mantenga a todas las personas, ayudantes,
circunstantes, niños y animales a una distancia
segura del área de corte. Durante las operaciones
de tala de árboles, una distancia segura es por
lo menos el doble de la altura de los árboles más
altos presentes en el área de la tala. Durante
las tareas de tronzado (corte en tramos más
pequeños), mantenga una distancia mínima de
15 pies (4,5 metros) entre los trabajadores.
Siempre corte con ambos pies bien apoyados en
suelo sólido para evitar perder el equilibrio.
No corte arriba de la altura del pecho, ya que si
se tiene la sierra más arriba de esa altura, es difícil
de controlar bajo la fuerza del contragolpe.
No corte árboles cerca de cables eléctricos o de
edificios. Deje tal operación a los profesionales.
Corte solamente cuando al visibiliad y la luz sean
adecuadas para ver claramente.
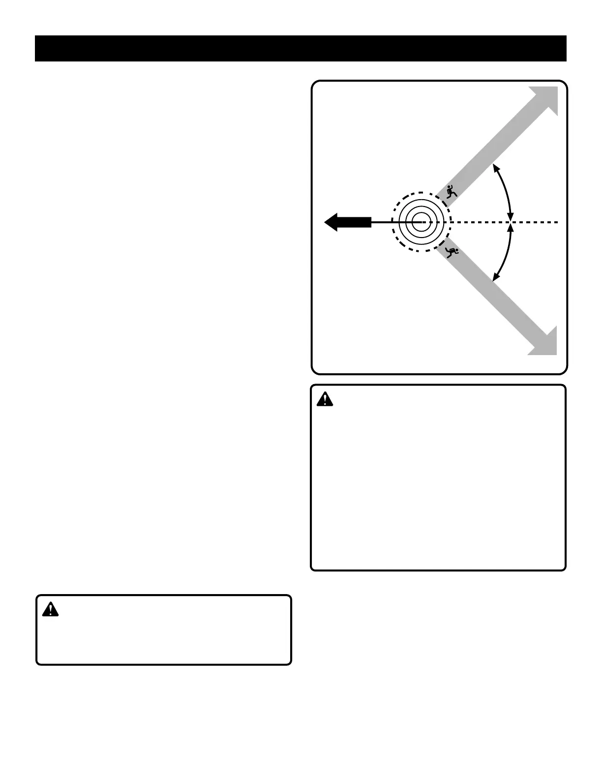
TALA DE ÁRBOLES
Vea las figuras 12 a 15.
CONDICIONES PELIGROSAS
ADVERTENCIA:
No tale árboles durante períodos de viento o
lluvia intensos. Espere hasta que cese el tiempo
peligroso.
Fig. 12
45°
45°
LÍNEA DE CAÍDA
PLANIFICADA
TRAYECTORIA DE RETIRADA
TRAYECTORIA DE RETIRADA

Related product manuals