EasyManua.ls Logo

Samsung AC030JXADCH - Outdoor Unit Installation Location; Location Selection Criteria

Samsung AC030JXADCH
40 pages
Print Icon
To Next Page IconTo Next Page
To Next Page IconTo Next Page
To Previous Page IconTo Previous Page
To Previous Page IconTo Previous Page
Loading...
7
ENGLISH
Deciding on where to install the outdoor unit
Outdoor Unit
f The outdoor unit must not be placed on its side or upside down, as the compressor lubrication oil will run into the cooling
circuit and seriously damage the unit.
f Choose a location that is dry and sunny, but not exposed to direct sunlight or strong winds.
f Do not block any passageways or thoroughfares.
f Choose a location where the noise of the air conditioner when running and the discharged air do not disturb any neighbours.
f Choose a position that enables the pipes and cables to be easily connected to the indoor unit.
f Install the outdoor unit on a at, stable surface that can support its weight and does not generate any unnecessary noise
and vibration.
f Position the outdoor unit so that the air ow is directed towards the open area.
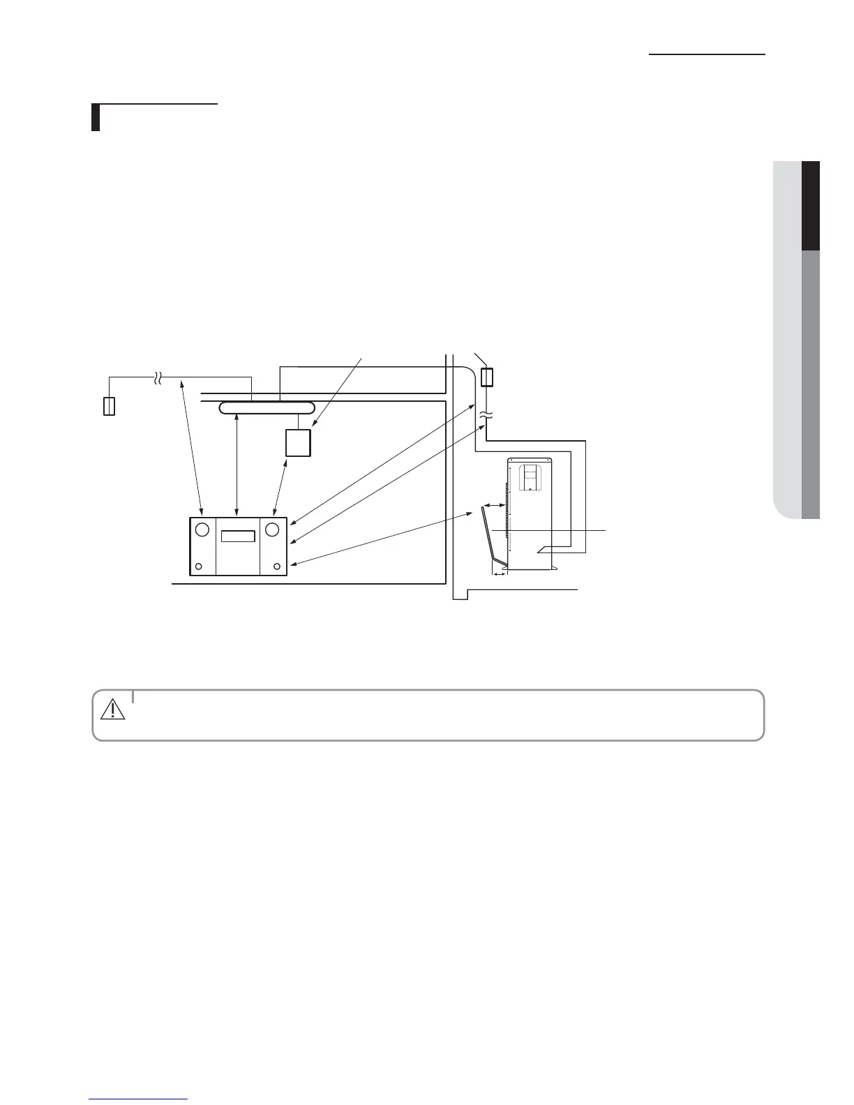
f Maintain sucient clearance around the outdoor unit, especially from a radio, computer, stereo system, etc.
Fuse
Outdoor Unit
Stereo
5 ft or more
Indoor Unit
Control
Air Guide Duct
(This product is not
provided by Samsung)
3.3 ft or more
3.3 ft or more
5 ft or more
5 ft or more
5 ft or more
Fuse
8 inch
12 inch
f If the outdoor unit is installed at a height, ensure that its base is rmly xed in position.
f When you install the outdoor unit at wayside, you should install it above 6.6 ft height or make sure that the heat from the
outdoor unit shouldn't be in direct contact with passersby.
You have just purchased a system air conditioner and it has been installed by your installation specialist.
This device must be installed according to the national electrical rules.
CAUTION

Related product manuals