EasyManua.ls Logo

Samsung AD26B1C13 - Refrigerating Cycle Block Diagram

Samsung AD26B1C13
37 pages
Print Icon
To Next Page IconTo Next Page
To Next Page IconTo Next Page
To Previous Page IconTo Previous Page
To Previous Page IconTo Previous Page
Loading...
30
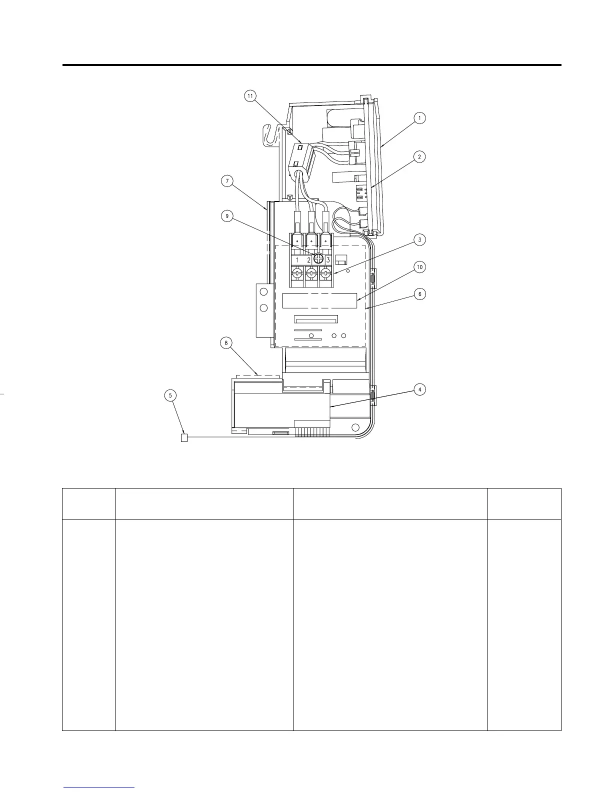
4-3 ASS’Y CONTROL IN (DB93-01223A)
Parts List
No
1
2
3
4
5
6
7
8
9
10
11
Description
HOLDER CONTROL
ASS’Y MAIN PCB
TERMINAL BLOCK ASSY
ASSY DISPLAY PCB
CONNECTOR WIRE PCB U/D
HOLDER CLAMP IN
SEAL CONTROL SIDE
SEAL H/CONTROL FRONT
SCREW MACHINE
LABEL
CORE
Specification
DB61-00160B
DB93-00319B
DB65-00046A
DB93-00268A
DB39-00147A
DB61-00219A
DB72-10191T
DB72-00127V
-
-
DB31-40005A
Remark
DB98-05645A(1)-2 5/30/02 7:06 PM Page 30

Related product manuals