EasyManua.ls Logo

Samsung DVM S VRF - Base Construction and Outdoor Unit Installation

Samsung DVM S VRF
164 pages
Print Icon
To Next Page IconTo Next Page
To Next Page IconTo Next Page
To Previous Page IconTo Previous Page
To Previous Page IconTo Previous Page
Loading...
10. Installation
136
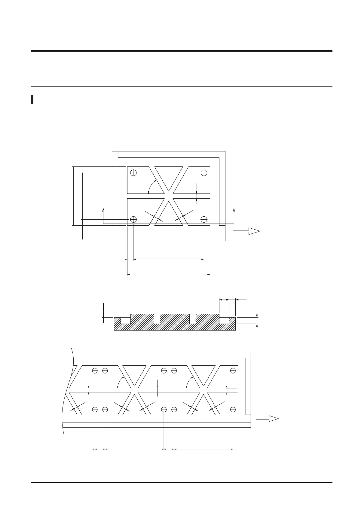
Base construction a
nd installation of the outdoor unit
Examples of draining work
Construct the drainage ditch with reinforced concretes and make sure that water-proofing work is done.
For smooth draining of defrost water, make sure to apply 1/50 slope.
Construct a drainage around the outdoor unit to prevent the defrost water (from the outdoor unit) from stagnat-
ing, overflowing or freezing near the installation space.
When the outdoor unit is installed on the roof, check the strength and waterproof status of the roof.
(Unit : mm)
960
760
100
80
80
80
60°
100
X
X’
Direction of the drainage
(Slope 1/50)
<Drainage work for single installation>
B
A
50
100
150 100
<X-X’ SECTION>
80
80
80
80
80
80
80
80
60°
60°
200
B B
200
Direction of the drainage
(Slope 1/50)
<Drainage work for module installation>

Related product manuals