EasyManua.ls Logo

Samsung LE19A656A1D - Teletext Functions; Viewing the Remote Control

Samsung LE19A656A1D
55 pages
Print Icon
To Next Page IconTo Next Page
To Next Page IconTo Next Page
To Previous Page IconTo Previous Page
To Previous Page IconTo Previous Page
Loading...
English - 6
TOOLS
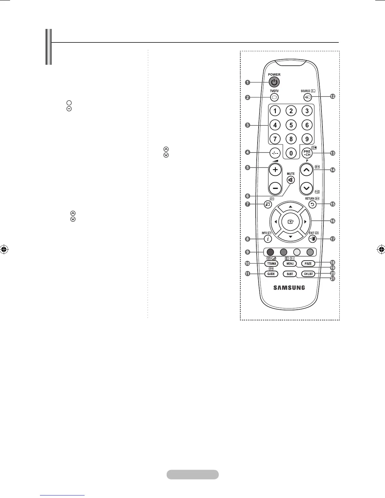
1 Television Standby button
2
Selects the TV and DTV
mode directly
3 Number buttons for direct
channel access
4
One/Two-digit channel selection
5
+
: Volume increase
: Volume decrease
6 Temporary sound switch-off
7 Use to quickly select
frequently used functions.
8
Use to see information on
the current broadcast
9 Colour buttons :
Use these buttons in the
Channel list, etc.
!
Electronic Program Guide
(EPG) display
@ Available source selection
# Previous channel
$ P
: Next channel
P : Previous channel
%
Returns to the previous
menu
^ Control the cursor in the menu
& Exit the on-screen menu
* Picture size selection
( Displays the main on-screen
menu
) Displays the Channel List on
screen
a
Digital subtitle display
Teletext Functions
2 Exit from the teletext display
7 Teletext size selection
8 Teletext reveal
9 Fastext topic selection
0
Alternately select Teletext,
Double, or Mix.
! Teletext store
@
Teletext mode selection
(LIST/FLOF)
# Teletext sub page
$
P : Teletext next page
P : Teletext previous page
% Teletext hold
& Teletext cancel
( Teletext index
The performance of the remote control may be affected by bright light.
Viewing the Remote Control
BN68-01412Q-Eng.indd 6 2008-05-13 ¿ÀÈÄ 2:39:03

Table of Contents

Related product manuals