EasyManua.ls Logo

Samsung M633 - Operating Instructions

Samsung M633
22 pages
Print Icon
To Next Page IconTo Next Page
To Next Page IconTo Next Page
To Previous Page IconTo Previous Page
To Previous Page IconTo Previous Page
Loading...
3. Operating Instructions
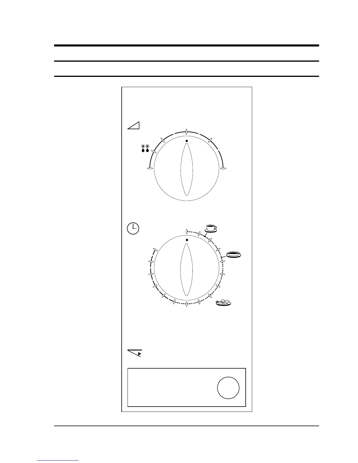
3-1 Control Panel
Samsung Electronics 3-1
M633

375
525
750W
112
225
0
1
2
3
4
5
6
7
8
9
10
20
30
40
50
60

Related product manuals