EasyManua.ls Logo

Samsung MAX-440 - Page 25

Samsung MAX-440
58 pages
Print Icon
To Next Page IconTo Next Page
To Next Page IconTo Next Page
To Previous Page IconTo Previous Page
To Previous Page IconTo Previous Page
Loading...
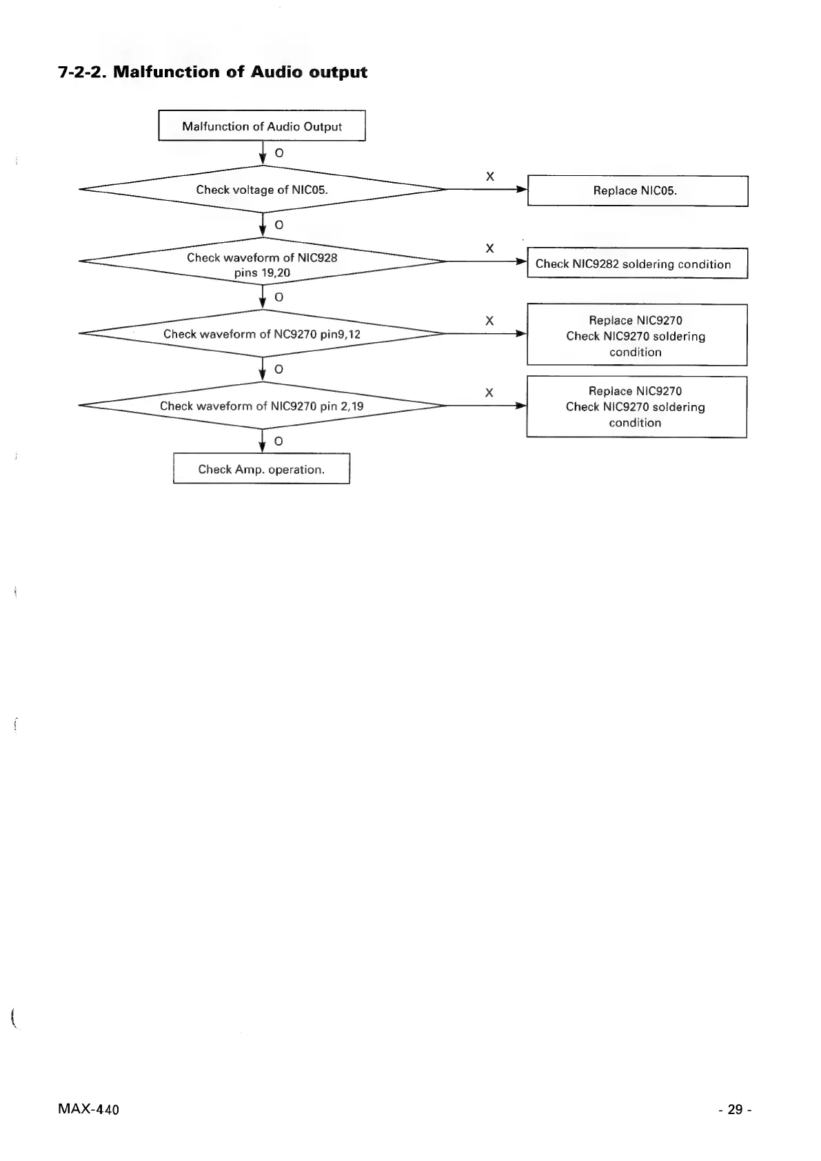
7-2-2.
Malfunction
of
Audio
output
Malfunction
of
Audio
Output
y
0
Check
voltage
of
NICOS5.
Replace
NICO5.
Check
waveform
of
NIC928
pins
19,20
Check
NIC9282
soldering
condition
Replace
NIC9270
Check
NIC9270
soldering
condition
Check
waveform
of
NC9270
pin9,12
Replace
NIC9270
Check
NIC9270
soldering
condition
Check
waveform
of
NIC9270
pin
2,19
Check
Amp.
operation.
MAX-440
-29-