EasyManua.ls Logo

Samsung MAX-440 - Page 48

Samsung MAX-440
58 pages
Print Icon
To Next Page IconTo Next Page
To Next Page IconTo Next Page
To Previous Page IconTo Previous Page
To Previous Page IconTo Previous Page
Loading...
¢
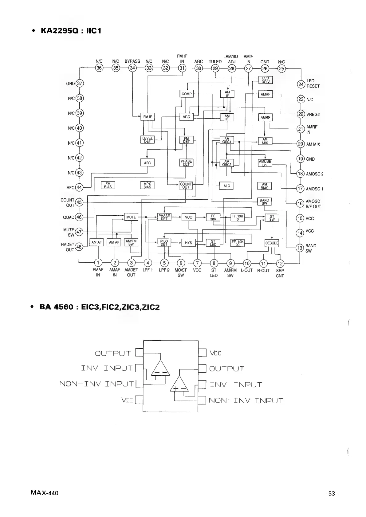
KA22950
:
IIC1
FM
IF
AM/SD
AMIF
N/C N/C
BYPASS
N/C
N/C
IN
AGC
TULED
ADJ
IN
GND
NIC
oe
S228)
oe
a
Nc(8)
Nc
B9)
nic(40)
nic
(41)
Nic
NIC
AFC
ea
|
(18)
AMOSC
2
—(7)
AMOSC
1
COUNT
————_
a]
AMOSC
OUT
a
(6)
B/F
OUT
QUAD
4
MUTE
—SH
(4)
vec
sw
4
[oT
|
|
8
FMDET
ie
a,
Lays
HT
$b
Fag
aor
(43)
BAND
OUT
|
al
sw
2)
6-626
0-066)
(10)
—(11)
(12)
FMAF
AMAF
AMDET
LPF1
LPF2
MO/ST
VCO
ST
AM/FM
L-OUT
R-OUT
SEP
IN IN
OUT
Sw
LED
SW
CNT
¢
BA
4560
:
EIC3,FIC2,ZIC3,ZIC2
OUTPUT
7
VCC
INV
INPUT
OUTPUT
NON-INV
INPUT
INV
INPUT
VEE[_
|
NON-INV
INPUT
MAX-440
-
53
-

Related product manuals