EasyManua.ls Logo

Samsung MAX-485 - Page 36

Samsung MAX-485
69 pages
Print Icon
To Next Page IconTo Next Page
To Next Page IconTo Next Page
To Previous Page IconTo Previous Page
To Previous Page IconTo Previous Page
Loading...
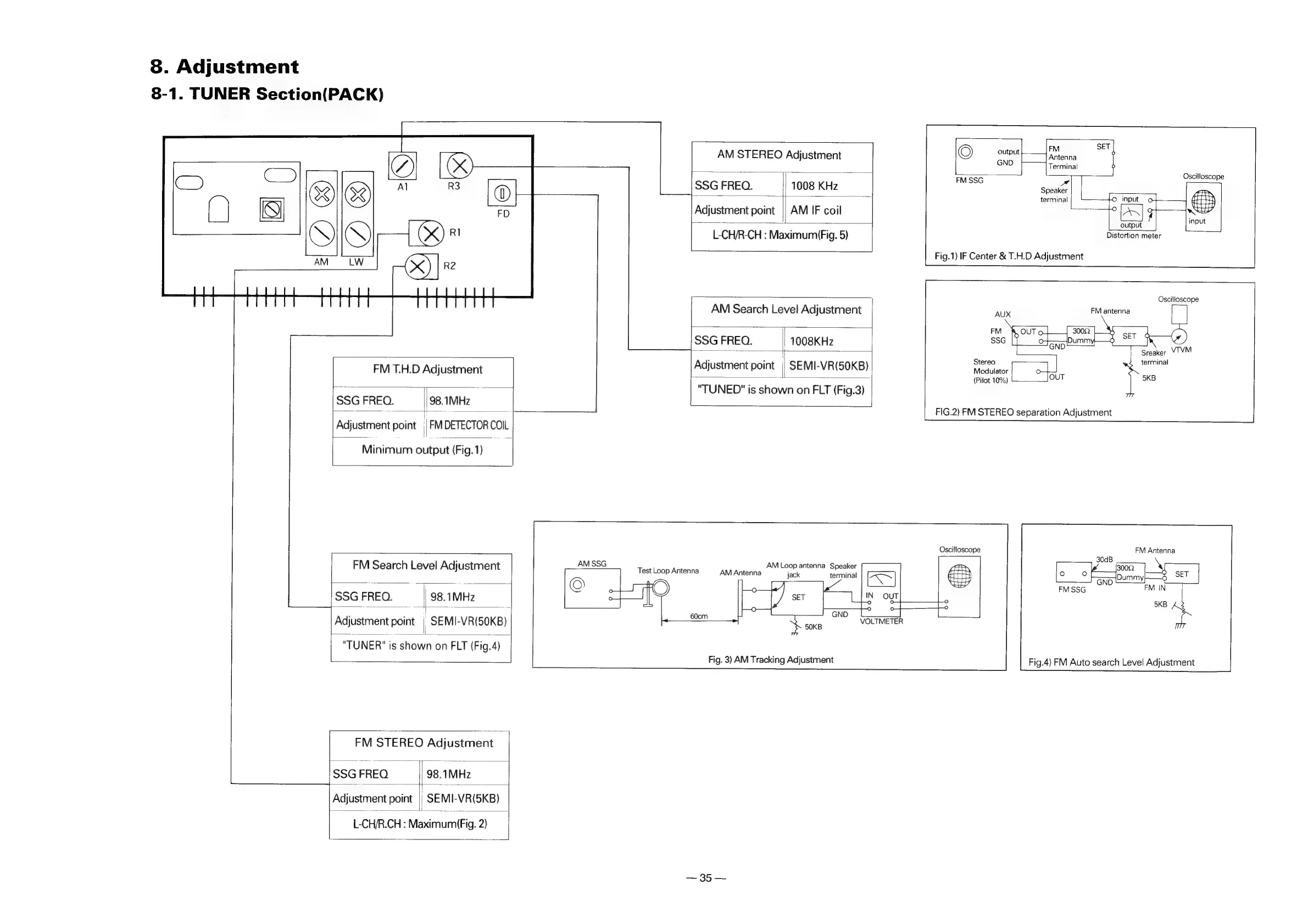
8.
Adjustment
8-1.
TUNER
Section(PACK)
SSGFREQ
|
98.1MHz
FM
T.H.D
Adjustment
SSG
FREO.
|98.1MHz
Adjustment
point
|
FM
DETECTOR
COIL
Minimum
output
(Fig.1)
FM
Search
Level
Adjustment
SSGFREQ.
—_98.1MHz
Adjustment
point
SEMI-VR(60KB)
"TUNER"
is
shown
on
FLT
(Fig.4)
FM
STEREO
Adjustment
Adjustment
point
|
SEMI-VR(5KB)
L-CH/R.CH
:
Maximum(Fig.
2)
AM
STEREO
Adjustment
SSG
FREQ.
|
1008
KHz
|
ne
Adjustment
point
|
AM
IF
coil
L-CH/R-CH
:
Maximum(Fig.
5)
AM
Search
Level
Adjustment
SSG
FREQ.
1008KHz
Adjustment
point
|
SEMI-VR(50KB)
"TUNED"
is
shown
on
FLT
(Fig.3)
GND
eC
am
t
FM
Antenna
Terminal
FM
SSG
Fig.1)
IF
Center
&
T.H.D
Adjustment
ol
Speaker
terminal
j
Oscilloscope
Distortion
meter
AUX
FM
SSG
Stereo
Modulator
(Pilot
10%)
Oscilloscope
FM
antenna
OUT
30092
Sreaker
VTVM
terminal
OUT
5KB
FIG.2)
FM
STEREO
separation
Adjustment
AM
Loop
antenna
Speaker
jack
terminal
Test
Loop
Antenna
AM
Antenna
Oscilloscope
VOLTMETER
Fig.
3)
AM
Tracking
Adjustment
Beare;
eae
30dB
FM
Antenna
3000
Dumm
Ae]
a
ND
7)
Fig.4)
FM
Auto
search
Level
Adjustment
FM
IN
5KB

Related product manuals