EasyManua.ls Logo

Samsung RT58 - Page 62

Samsung RT58
128 pages
Print Icon
To Next Page IconTo Next Page
To Next Page IconTo Next Page
To Previous Page IconTo Previous Page
To Previous Page IconTo Previous Page
Loading...
Installation
Français18
Installation
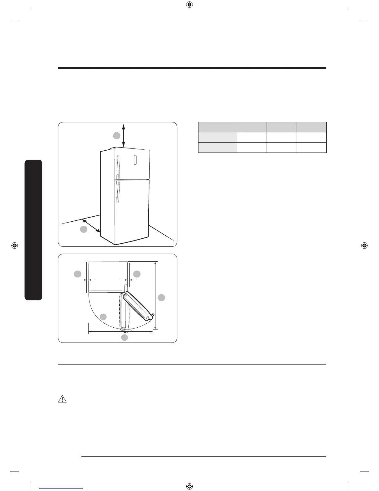
Espace
Pour connaître les exigences en matière d'espace d'installation, reportez-vous aux images et au tableau ci-
dessous.
01
02
Modèle A B C
RT58 1507 1352 120˚
RT62 1507 1352 120˚
(Unité : mm)
01 100 mm
02 50 mm
03 au moins 50 mm
B
C
A
03 03
ÉTAPE 2 Connexion Wi-Fi
Vous pouvez contrôler le réfrigérateur à distance grâce à la clé électronique Smart Home Dongle qui est vendue
séparément. Pour acheter la clé électronique Smart Home Dongle, rendez-vous sur www.samsung.com et suivez
les informations produit relatives à la clé électronique.
ATTENTION
La clé électronique Samsung Smart Home Dongle se compose de deux parties : la première est dédiée à la
série Samsung Smart TV et la seconde, aux appareils ménagers Samsung.
Untitled-5 18 2016-03-16  2:58:56

Table of Contents

Related product manuals