EasyManua.ls Logo

Samsung SRF651BFH3 - Page 35

Samsung SRF651BFH3
84 pages
Print Icon
To Next Page IconTo Next Page
To Next Page IconTo Next Page
To Previous Page IconTo Previous Page
To Previous Page IconTo Previous Page
Loading...
English 35
Installation
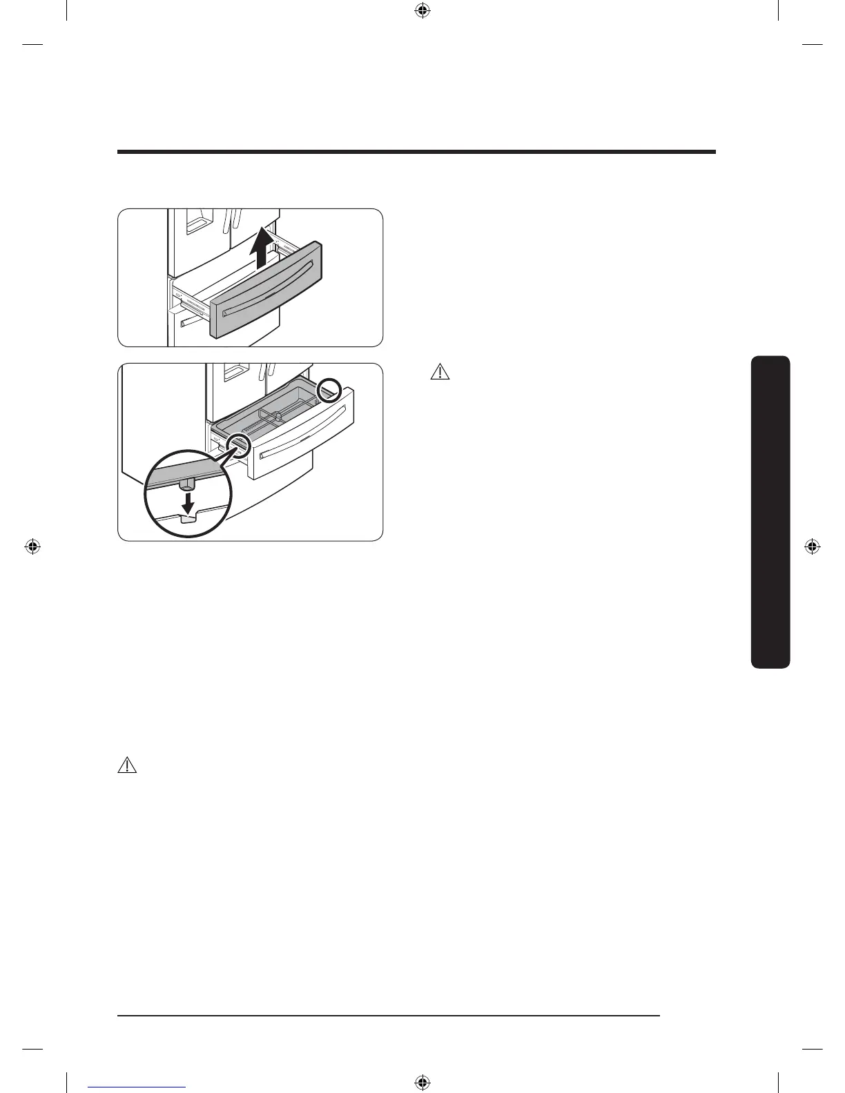
5. Lift up to remove the drawer front of
the Cool Select+ (FlexZone) from the rail
assembly.
CAUTION
Use caution when removing the rail
assembly, which may fall off causing
damage to the oor.
Make sure to put the Cool Select+
(FlexZone) drawer in place after
removing or mounting the Cool Select+
(FlexZone) basket. The Cool Select+
(FlexZone) drawer may not open or
close if the freezer drawer is not in
place.
Do not store too much food in the
Cool Select+ (FlexZone) drawer. This
prevents the Cool Select+ (FlexZone)
drawer from closing properly, resulting
in frost buildup.
To reattach the Cool Select+ (FlexZone) drawer
After you have moved the refrigerator to its nal location, reattach the Cool Select+
(FlexZone) drawer by following the removal instructions in reverse order.
CAUTION
If the Cool Select+ (FlexZone) or the indicator does not operate properly, make sure the
connectors are connected properly.
Untitled-1 35 2018-03-21  3:06:26

Related product manuals