EasyManua.ls Logo

Samsung SRF719DLS - Changing the Water Filter

Samsung SRF719DLS
44 pages
Print Icon
To Next Page IconTo Next Page
To Next Page IconTo Next Page
To Previous Page IconTo Previous Page
To Previous Page IconTo Previous Page
Loading...
English - 30
CHANGING THE WATER FILTER
To reduce risk of water damage to your
property DO NOT use generic brands
of water fi lters in your SAMSUNG
Refrigerator.
USE ONLY SAMSUNG BRAND
WATER FILTERS.
SAMSUNG will not be legally
responsible for any damage,
including, but not limited to, property
damage caused by water leakage
from the use of a generic water fi lter.
(Red)
(Red)
SAMSUNG Refrigerators are designed to work
ONLY WITH SAMSUNG Water Filter.
The Filter light turns red to let you know when it is
time to change your water fi lter cartridge.
To give you time to get a new fi lter, the red light
comes on just before the capacity of the current
lter runs out.
Changing the fi lter on time provides you with the
freshest, cleanest water from your refrigerator.
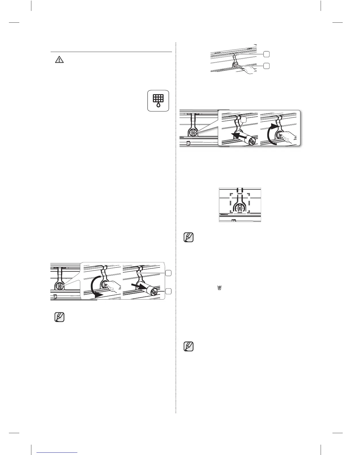
1. Shut o the water supply.
Then, turn the water fi lter (1) about 1/4 turn,
counter-clockwise.
2. Pull the water fi lter (1) from the case fi lter (2).
2
1
To change the water fi lter more easily,
shut o the water supply valve.
Sometimes, it is hard to disassemble the water
lter because impurities in the water cause it to
stick. If you are having di culties, grip the water
lter fi rmly and pull it hard.
When you pull out the water fi lter, a little water
can leak from the opening. This is normal.
To minimize the water leaks, keep the fi lter
cartridge horizontal when you pull it.
To prevent overfl ow, empty the water fi lter tray
(3) and dry around the fi lter case (2).
WARNING
3
2
3. Insert the new fi lter into the fi lter case (4).
4
4. Push the fi lter in, and then turn it clockwise until
it locks.
If you have trouble inserting the water
lter because of high water pressure,
shut o the water supply valve.
The locked symbol should be lined up with the
indicator line.
5. Touch the “Crushed/Hold 3 sec for Filter Reset”
button (
(Filter Reset)
(Filter Reset)
) for about 3 seconds to
reset the water fi lter. The color of the indicator
changes from red to o .
6. If you turned o the water supply, turn it back
on.
For a replacement water fi lter, visit your
local home Improvement center, go to
Samsung Parts.com on line, or contact
your authorized Samsung dealer.
Be sure the replacement water fi lter has
the SAMSUNG logo on the box and on
the water fi lter.
DA68-03194H (EN)-04.indd 30DA68-03194H (EN)-04.indd 30 2015. 6. 1.  1:032015. 6. 1.  1:03

Related product manuals